起底欠费5000万邮轮公司 蓝梦邮轮近期被限消观点
观察君
2026-03-30 22:47
导读
据媒体报道,近日,蓝梦邮轮旗下“蓝梦之歌”号因拖欠油款被扣船,此外,约200位员工被欠薪,相关话题引发热议。
据媒体报道,近日,蓝梦邮轮旗下“蓝梦之歌”号因拖欠油款被扣船,此外,约200位员工被欠薪,相关话题引发热议。
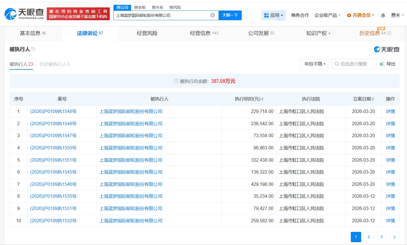
天眼查App显示,蓝梦邮轮关联公司上海蓝梦国际邮轮股份有限公司成立于2016年8月,法定代表人为林恩杰,注册资本约7711万人民币,经营范围包括邮轮港口服务、邮轮配套服务、国际船舶运输等,由福建中运投资集团有限责任公司、青岛聚融产业投资有限公司、舟山群岛国际邮轮港有限公司共同持股。法律诉讼信息显示,近期,该公司及法定代表人林恩杰因未按执行通知书指定的期间履行生效法律文书确定的给付义务,被限制高消费。案件流程显示,今年2月,该公司已因此案被执行11万余元。值得一提的是,该公司现有20余条被执行人信息。变更记录显示,今年2月,王鹏卸任该公司法定代表人,由林恩杰接任。




蓝梦邮轮
1.TMT观察网遵循行业规范,任何转载的稿件都会明确标注作者和来源;
2.TMT观察网的原创文章,请转载时务必注明文章作者和"来源:TMT观察网",不尊重原创的行为TMT观察网或将追究责任;
3.作者投稿可能会经TMT观察网编辑修改或补充。
