乐视网再增被执行人信息,被执行总金额超21亿元快报
TechWeb.com.cn
2021-09-09 11:52
导读
企查查信息显示,【TechWeb】企查查APP显示,乐视网信息技术(北京)股份有限公司新增被执行人信息。
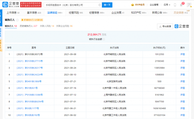
【TechWeb】企查查APP显示,9月8日,乐视网信息技术(北京)股份有限公司新增被执行人信息,执行标的191.24万元,案号为(2021)京0105执38372号,执行法院为北京市朝阳区人民法院。
企查查信息显示,此前,乐视网多次成为被执行人,目前被执行总金额共计21.21亿元人民币。


执行
信息
乐视网
显示
查查
1.TMT观察网遵循行业规范,任何转载的稿件都会明确标注作者和来源;
2.TMT观察网的原创文章,请转载时务必注明文章作者和"来源:TMT观察网",不尊重原创的行为TMT观察网或将追究责任;
3.作者投稿可能会经TMT观察网编辑修改或补充。
