苹果更新可折叠iPhone专利 新iPhone会是这样吗?快报
苹果更新的专利显示了使可折叠屏幕弯曲的不同方式,苹果更新可折叠iPhone专利,苹果在其专利中添加的新绘图显示了一部对折的手机。
据外媒报道,似乎每天都有不同公司开发可折叠手机的传闻和泄密信息。据传闻,小米、华为、LG、联想和摩托罗拉都在研发可折叠手机。上周四,苹果更新可折叠iPhone专利,其中绘制了一款可折叠iPhone的样子。

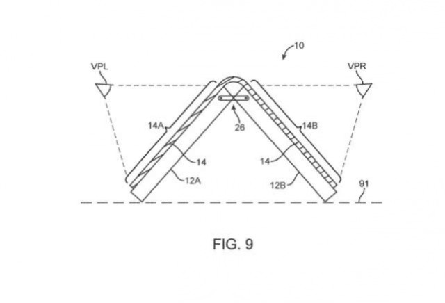
图1:苹果更新的专利显示了使可折叠屏幕弯曲的不同方式。
周四,苹果更新了一项专利,其中绘制了一款可折叠iPhone的样子。这是苹果在2011年申请的一项专利的延续。该专利在2016年再次更新,并包含带有可折叠屏幕的iPhone绘图。
苹果现在再次更新专利的时机耐人寻味。2月20日(下周三),三星预计将在发布新款Galaxy S10时披露其可折叠手机Galaxy X的更多信息。
苹果在其专利中添加的新绘图显示了一部对折的手机。摩托罗拉在其更新的Razr手机专利中也采用了类似的方法,以便使手机在不使用时更便于携带。三星和小米的做法似乎更多的是将手机改造成迷你平板电脑。

图2:这两幅图显示的是一个翻盖机型,上图显示向内折叠,下图显示向外折叠。
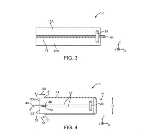
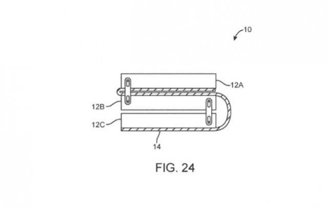
特别有意思的是,苹果展示了在可折叠OLED显示屏周围整合铰链和外壳从而让手机弯折的各种方式。有一张图显示翻盖设计,另一张图显示三折设计。这些图显示了屏幕可以灵活地向内和向外折叠。
这些设计也可能会应用到诸如MacBook或iPad之类的设备中。


图3:这项专利展示了铰链和外壳是如何使可折叠显示屏弯曲的。 图4:另一幅画则显示了三折设计。
苹果没有立即回复记者的置评请求。
苹果专利中的这些新增加的内容并不能保证该公司将会在2019年发布一款可折叠iPhone,但它们仍然令人感到兴奋。
1.TMT观察网遵循行业规范,任何转载的稿件都会明确标注作者和来源;
2.TMT观察网的原创文章,请转载时务必注明文章作者和"来源:TMT观察网",不尊重原创的行为TMT观察网或将追究责任;
3.作者投稿可能会经TMT观察网编辑修改或补充。
