杉杉控股等被列为老赖 杉杉控股等未履行2777万案款成老赖观点
观察君
2025-07-01 16:21
导读
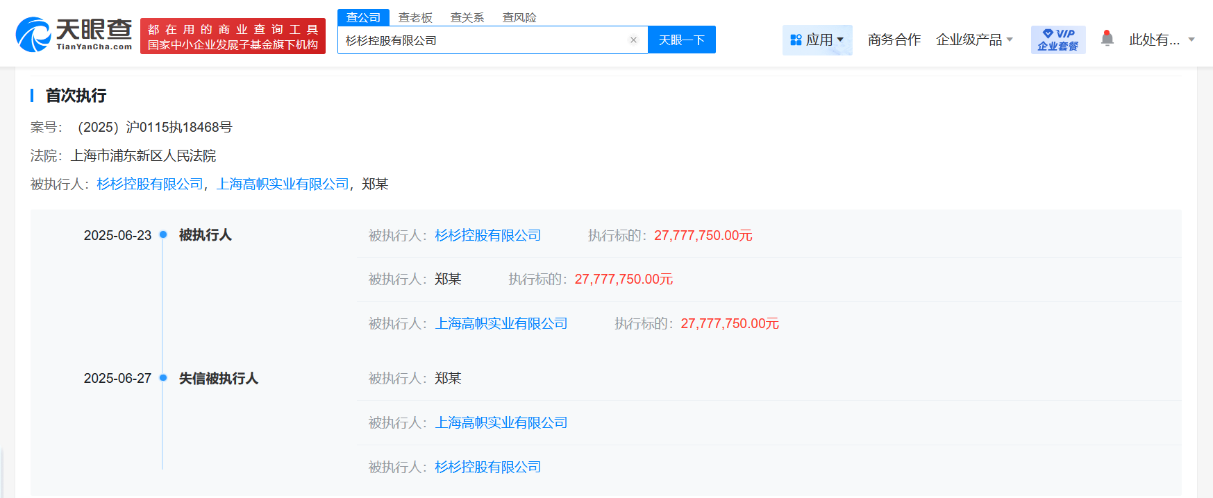
天眼查法律诉讼信息显示,近日,杉杉控股有限公司、郑驹、上海高帜实业有限公司因有履行能力而拒不履行生效法律文书确定义务,被浦东新区人民法院列为失信被执行人(老赖),履行情况为全部未履行。案件流程信息显示,此前,杉杉控股有限公司、郑驹、上海高帜实业有限公司因买卖合同纠纷案件被执行2777万余元。
天眼查法律诉讼信息显示,近日,杉杉控股有限公司、郑驹、上海高帜实业有限公司因有履行能力而拒不履行生效法律文书确定义务,被浦东新区人民法院列为失信被执行人(老赖),履行情况为全部未履行。案件流程信息显示,此前,杉杉控股有限公司、郑驹、上海高帜实业有限公司因买卖合同纠纷案件被执行2777万余元。
杉杉控股有限公司成立于2004年8月,法定代表人为周顺和,注册资本约15.25亿人民币,经营范围含实业投资,投资管理,服装、针纺织品、服装面料、及相关的高新技术材料的研发和销售等,由昆明锦苑安杉投资合伙企业(有限合伙)、宁波鑫润佳盈贸易有限公司、绵阳绵高股权投资基金(有限合伙)等共同持股。天眼风险信息显示,该公司现存多条被执行人及股权冻结信息。



杉杉控股
1.TMT观察网遵循行业规范,任何转载的稿件都会明确标注作者和来源;
2.TMT观察网的原创文章,请转载时务必注明文章作者和"来源:TMT观察网",不尊重原创的行为TMT观察网或将追究责任;
3.作者投稿可能会经TMT观察网编辑修改或补充。
