荣耀申请大王影像小王影像商标 荣耀申请大王长焦商标观点
观察君
2025-01-10 18:22
导读
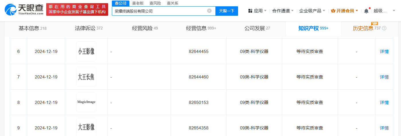
天眼查知识产权信息显示,近日,荣耀终端股份有限公司申请注册“大王影像”“小王影像”“大王长焦”等商标,国际分类为科学仪器,当前商标状态为等待实质审查。
天眼查知识产权信息显示,近日,荣耀终端股份有限公司申请注册“大王影像”“小王影像”“大王长焦”等商标,国际分类为科学仪器,当前商标状态为等待实质审查。
据报道,近期,荣耀正式宣布Magic7系列将全面升级“大王影像”,旨在以人性化的摄影体验为核心目标,重塑摄影体验新境界。


荣耀
1.TMT观察网遵循行业规范,任何转载的稿件都会明确标注作者和来源;
2.TMT观察网的原创文章,请转载时务必注明文章作者和"来源:TMT观察网",不尊重原创的行为TMT观察网或将追究责任;
3.作者投稿可能会经TMT观察网编辑修改或补充。
