小米向Kimi转让商标 小米将多枚商标转让至Kimi观点
观察君
2025-06-03 10:14
导读
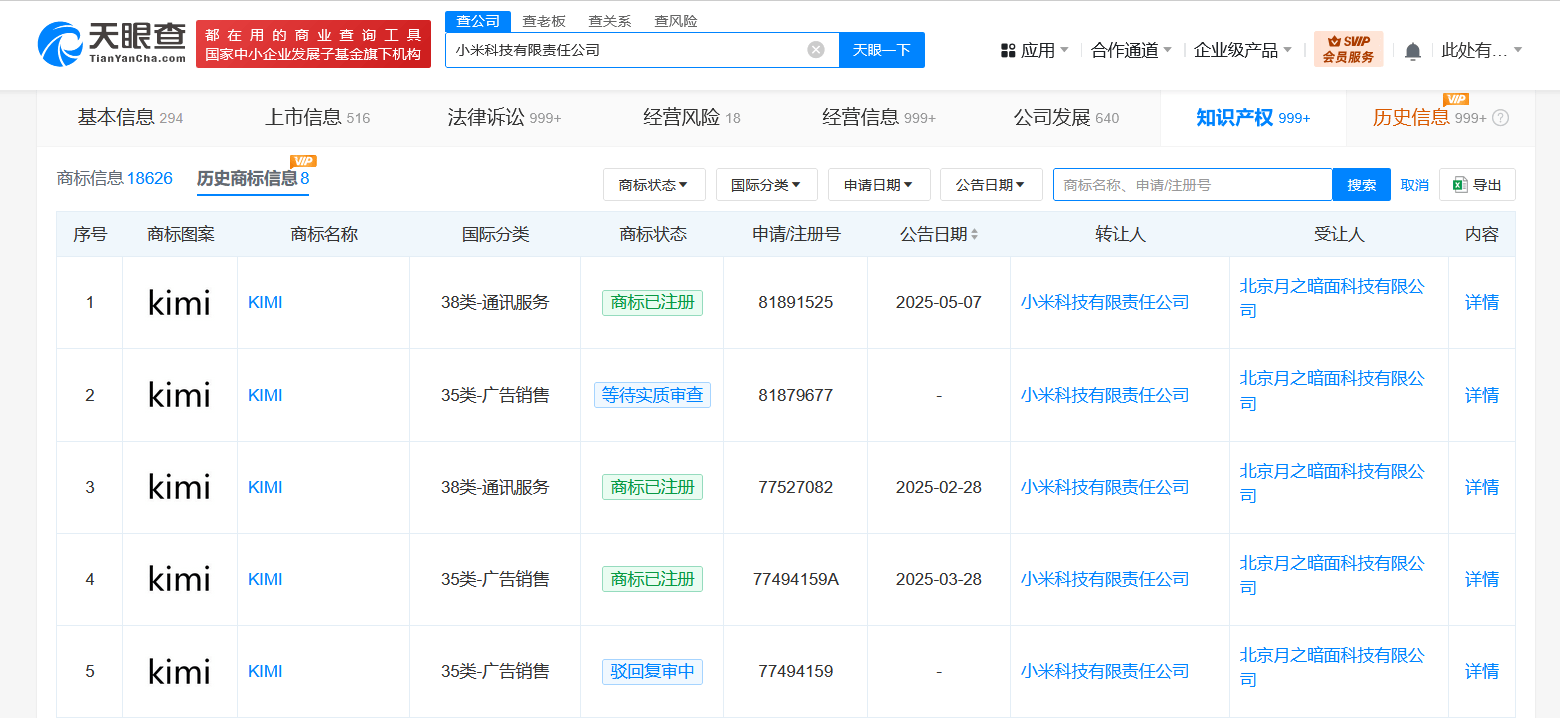
天眼查知识产权信息显示,近日,小米科技有限责任公司将多枚“kimi”商标转让至北京月之暗面科技有限公司,上述商标最早申请于2013年,当前上述商标状态多为已注册。
天眼查知识产权信息显示,近日,小米科技有限责任公司将多枚“kimi”商标转让至北京月之暗面科技有限公司,上述商标最早申请于2013年,当前上述商标状态多为已注册。
北京月之暗面科技有限公司成立于2023年4月,法定代表人为杨植麟,注册资本100万人民币,经营范围含软件开发、软件销售、人工智能基础软件开发、人工智能应用软件开发、计算机系统服务、信息技术咨询服务等,由杨植麟、周昕宇、吴育昕等5位股东共同持股。
公开信息显示,Kimi是北京月之暗面科技有限公司于2023年10月9日推出的一款智能助手,主要应用场景为专业学术论文的翻译和理解、辅助分析法律问题、快速理解API开发文档等。


小米
Kimi
1.TMT观察网遵循行业规范,任何转载的稿件都会明确标注作者和来源;
2.TMT观察网的原创文章,请转载时务必注明文章作者和"来源:TMT观察网",不尊重原创的行为TMT观察网或将追究责任;
3.作者投稿可能会经TMT观察网编辑修改或补充。
