恒大地产等被执行13.15亿观点
观察君
2025-07-14 16:07
导读
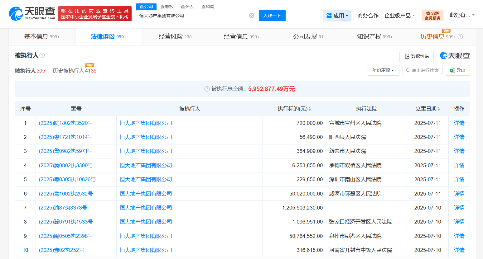
天眼查法律诉讼信息显示,7月10日至11日,恒大地产集团有限公司新增10条被执行人信息,执行标的合计13.15亿余元,涉及票据追索权纠纷、招标投标买卖合同纠纷、票据纠纷等案件,部分案件被执行人还包括成都锦益恒城市建设有限公司、威海中恒置业有限公司等,执行法院为宣城市宣州区人民法院、威海市环翠区人民法院等。
天眼查法律诉讼信息显示,7月10日至11日,恒大地产集团有限公司新增10条被执行人信息,执行标的合计13.15亿余元,涉及票据追索权纠纷、招标投标买卖合同纠纷、票据纠纷等案件,部分案件被执行人还包括成都锦益恒城市建设有限公司、威海中恒置业有限公司等,执行法院为宣城市宣州区人民法院、威海市环翠区人民法院等。
风险信息显示,恒大地产集团有限公司现存590余条被执行人信息,被执行总金额超595亿余元,此外,该公司还存在多条限制消费令、失信被执行人(老赖)及终本案件信息。


恒大地产
1.TMT观察网遵循行业规范,任何转载的稿件都会明确标注作者和来源;
2.TMT观察网的原创文章,请转载时务必注明文章作者和"来源:TMT观察网",不尊重原创的行为TMT观察网或将追究责任;
3.作者投稿可能会经TMT观察网编辑修改或补充。
