高通中国商业版图盘点 直接持股30余家公司观点
观察君
2025-10-10 23:21
导读
因高通公司收购Autotalks公司未依法申报经营者集中,涉嫌违反《中华人民共和国反垄断法》,市场监管总局依法对高通公司开展立案调查。
因高通公司收购Autotalks公司未依法申报经营者集中,涉嫌违反《中华人民共和国反垄断法》,市场监管总局依法对高通公司开展立案调查。
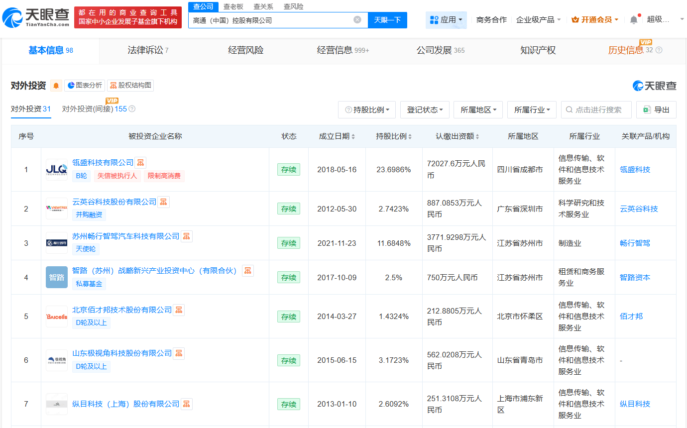
天眼查App显示,高通(中国)控股有限公司成立于2016年1月,法定代表人为孟樸(Frank MENG),注册资本约4.8亿美元,由Qualcomm Global Trading Pte. Ltd全资持股。对外投资信息显示,该公司持有30余家公司股份,包括高通通讯技术(上海)有限公司、高通通信技术(深圳)有限公司等。
此外,高通无线通信技术(中国)有限公司成立于2001年8月,注册资本1500万美元,由高通公司全资持股;高通无线半导体技术有限公司成立于2001年9月,注册资本610万美元,由高通码分多址技术亚太私人有限公司全资持股。




高通中国
1.TMT观察网遵循行业规范,任何转载的稿件都会明确标注作者和来源;
2.TMT观察网的原创文章,请转载时务必注明文章作者和"来源:TMT观察网",不尊重原创的行为TMT观察网或将追究责任;
3.作者投稿可能会经TMT观察网编辑修改或补充。
