赛力斯申请注册凤航商标观点
观察君
2025-02-21 15:10
导读
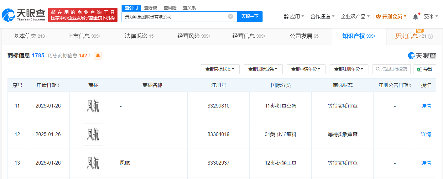
近日,赛力斯(601127)申请注册多枚“凤航”商标,国际分类含科学仪器、运输工具、机械设备等,当前商标状态均为等待实质审查。
天眼查知识产权信息显示,近日,赛力斯(601127)申请注册多枚“凤航”商标,国际分类含科学仪器、运输工具、机械设备等,当前商标状态均为等待实质审查。
赛力斯集团股份有限公司成立于2007年5月,法定代表人为张正萍,注册资本约15亿人民币,经营范围含房屋租赁、机械设备租赁,经济技术咨询服务,货物进出口等,由重庆小康控股有限公司、东风汽车集团有限公司、重庆渝安汽车工业有限公司等共同持股。



赛力斯
1.TMT观察网遵循行业规范,任何转载的稿件都会明确标注作者和来源;
2.TMT观察网的原创文章,请转载时务必注明文章作者和"来源:TMT观察网",不尊重原创的行为TMT观察网或将追究责任;
3.作者投稿可能会经TMT观察网编辑修改或补充。
