李铁资本版图起底 李铁名下科技公司近期注销 李铁被判20年观点
观察君
2024-12-13 12:44
导读
2024年12月13日,湖北省咸宁市中级人民法院对中国国家男子足球队原主教练李铁案公开宣判,李铁被以受贿罪、行贿罪、单位行贿罪、非国家工作人员受贿罪、对非国家工作人员行贿罪数罪并罚判处有期徒刑二十年。
2024年12月13日,湖北省咸宁市中级人民法院对中国国家男子足球队原主教练李铁案公开宣判,李铁被以受贿罪、行贿罪、单位行贿罪、非国家工作人员受贿罪、对非国家工作人员行贿罪数罪并罚判处有期徒刑二十年。
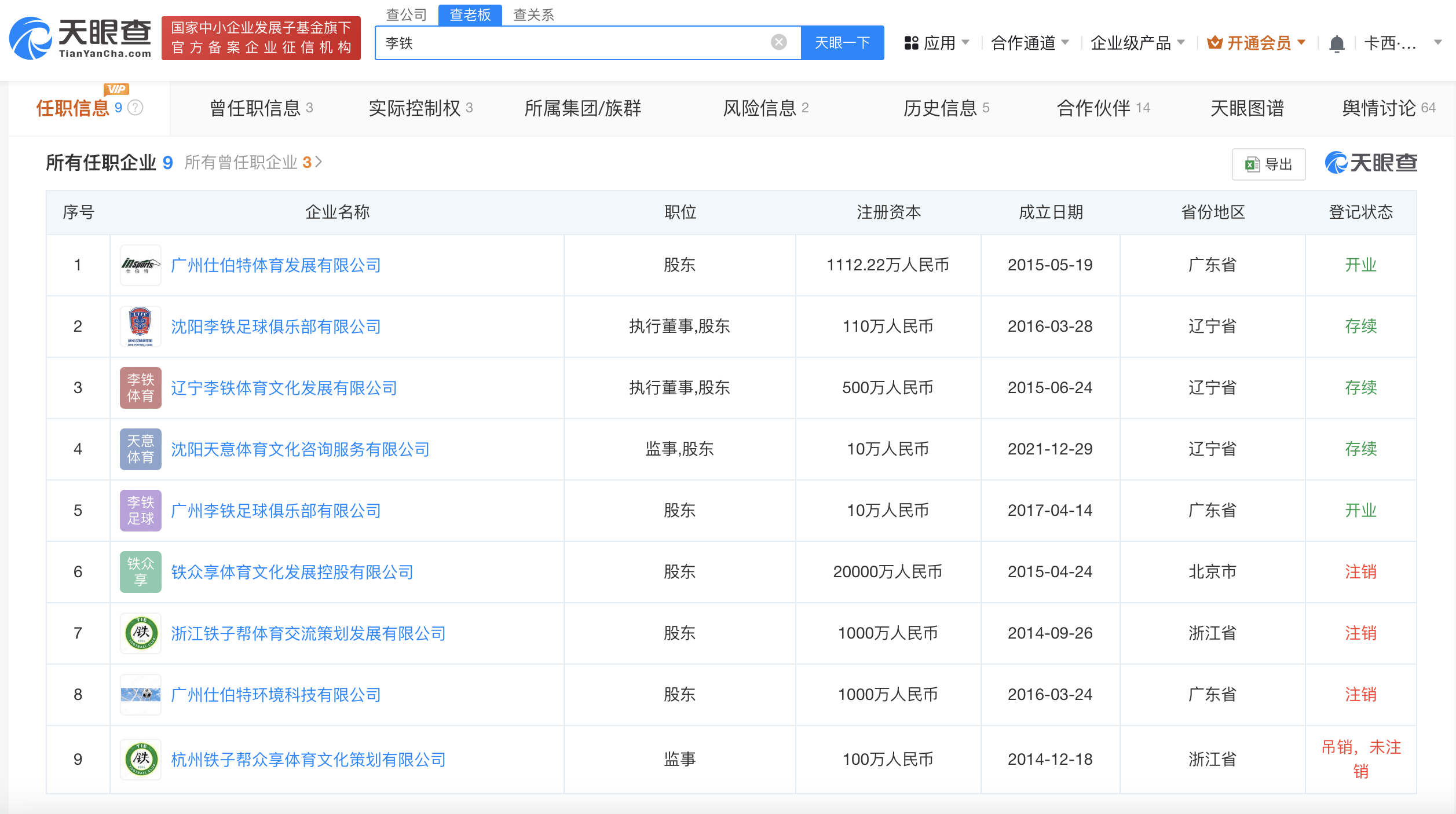
天眼查App显示,李铁关联企业共有9家,其中5家为存续状态,包括沈阳李铁足球俱乐部有限公司、广州仕伯特体育发展有限公司、辽宁李铁体育文化发展有限公司、广州李铁足球俱乐部有限公司等,涉及体育领域。李铁在上述5家企业中均持有股份,同时在沈阳李铁足球俱乐部有限公司、辽宁李铁体育文化发展有限公司担任执行董事,在沈阳天意体育文化咨询服务有限公司担任监事。值得一提的是,10月25日,李铁持股25.5%的广州仕伯特环境科技有限公司已注销。


李铁
1.TMT观察网遵循行业规范,任何转载的稿件都会明确标注作者和来源;
2.TMT观察网的原创文章,请转载时务必注明文章作者和"来源:TMT观察网",不尊重原创的行为TMT观察网或将追究责任;
3.作者投稿可能会经TMT观察网编辑修改或补充。
