饿了么申请饿了喵商标被驳回快讯
TechWeb.com.cn
2021-12-17 19:04
导读
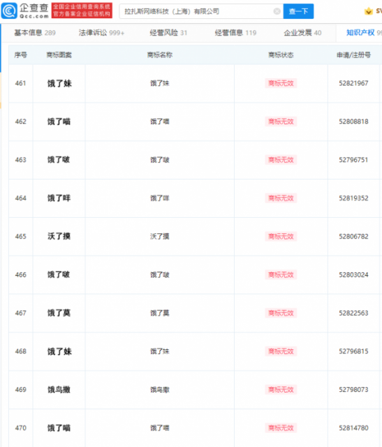
列举了非饿了么公司申请的饿了么相似商标,饿了么关联公司拉扎斯网络科技(上海)有限公司申请注册饿了妹、饿了喵、沃了摸、饿鸟撒等商标被驳回,商标国际分类涉餐饮住宿、运输贮藏等。
【TechWeb】12月17日,企查查App显示,近日,饿了么关联公司拉扎斯网络科技(上海)有限公司申请注册饿了妹、饿了喵、沃了摸、饿鸟撒等商标被驳回,商标国际分类涉餐饮住宿、运输贮藏等。
此前,饿了么曾发布错误发音示范,列举了非饿了么公司申请的饿了么相似商标。



公司
商标
申请
近日
关联
1.TMT观察网遵循行业规范,任何转载的稿件都会明确标注作者和来源;
2.TMT观察网的原创文章,请转载时务必注明文章作者和"来源:TMT观察网",不尊重原创的行为TMT观察网或将追究责任;
3.作者投稿可能会经TMT观察网编辑修改或补充。
