罗永浩锤子科技成被执行人 罗永浩锤子科技被执行2142万观点
观察君
2025-08-05 11:58
导读
天眼查App显示,近日,锤子科技(成都)股份有限公司新增2条被执行人信息,执行标的合计2142万余元,执行法院为北京市海淀区人民法院。
天眼查App显示,近日,锤子科技(成都)股份有限公司新增2条被执行人信息,执行标的合计2142万余元,执行法院为北京市海淀区人民法院。
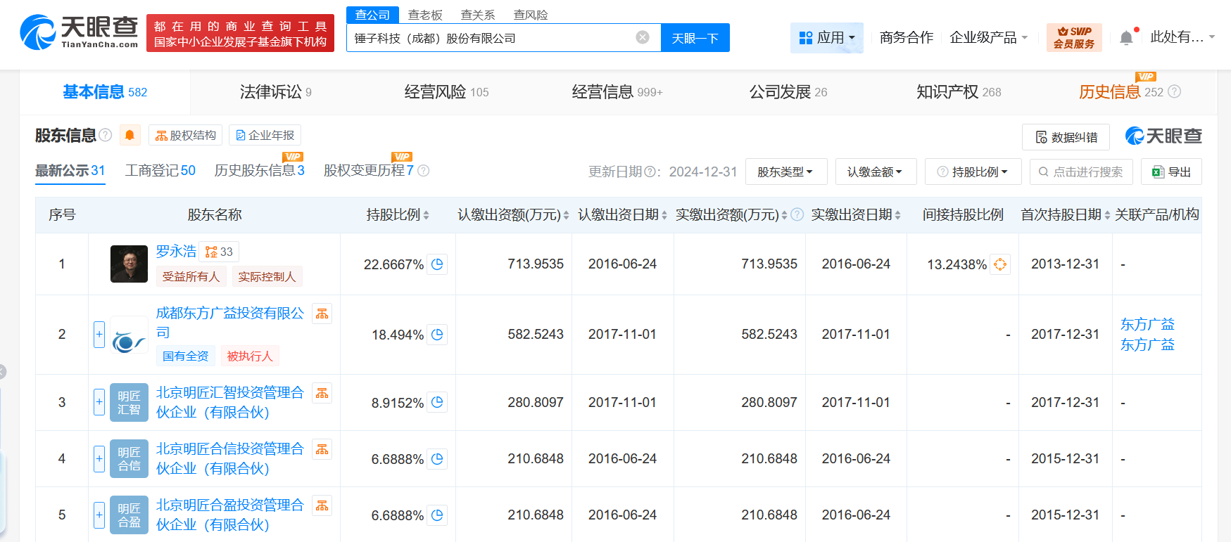
锤子科技(成都)股份有限公司成立于2012年5月,法定代表人为管志良,注册资本约3149.8万人民币,经营范围含基础软件服务、应用软件服务、组织文化艺术交流活动、承办展览展示活动等。主要人员信息显示,罗永浩在该公司担任董事长并持股约23%。



罗永浩
锤子科技
1.TMT观察网遵循行业规范,任何转载的稿件都会明确标注作者和来源;
2.TMT观察网的原创文章,请转载时务必注明文章作者和"来源:TMT观察网",不尊重原创的行为TMT观察网或将追究责任;
3.作者投稿可能会经TMT观察网编辑修改或补充。
