三方代扣会员费,股权结构多层嵌套,青松融背后的资本“迷局”观点
“青松融擅自扣会员费1399元并泄露隐私”“青松融借款利息超36%涉嫌高利贷”……3月5日,第三方投诉平台消费保上新增的多条用户投诉,引起外界关注。

“青松融擅自扣会员费1399元并泄露隐私”“青松融借款利息超36%涉嫌高利贷”……3月5日,第三方投诉平台消费保上新增的多条用户投诉,引起外界关注。
近一个月里,消费保、黑猫投诉等三方投诉平台与青松融有关的用户投诉突然大幅增加,这些用户投诉多集中于“会员费”“擅自扣费”“息费超36%”“暴力催收”等投诉理由展开。其中,过高的会员费是出现频率最高的关键词之一。
事实上,在助贷新规落地前,变相砍头息、“天价”会员费等用户指控和舆论就已经环绕青松融了。然而,在助贷新规正式实施,行业监管趋严的背景下,青松融依然被指收取会员费,实际息费超24%。
除了用户投诉,青松融通过第三方通道代扣会员费规避监管、股权结构频繁腾挪等操作,更折射出强监管下部分助贷平台仍心存侥幸、花样翻新的行业顽疾。
强制扣取会员费,三方代扣规避监管
3月5日,消费保平台用户投诉称,其于2025年4月16日,通过人品借款在青松融借款1万元,次日(2025年4月17日),便被宝付-荔枝云服在未经同意的情况下,擅自扣取1399元会员费。该用户核算后,发现加上会员费,这笔贷款的年利率高达48%。

3月6日,另一位消费者也在消费保投诉称自己在青松融借款,下款后荔枝云服无故扣除了1299元会员费,远超国家法律规定的利息。

无论是消费保还是黑猫投诉平台,关于用户在青松融借款后被扣取会员费的投诉还有许多,这些用户投诉,多数都指向会员费由荔枝云服扣取。
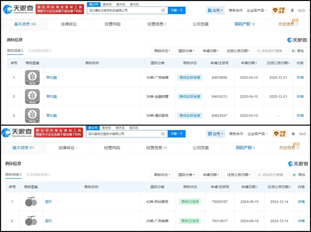
青松融的运营主体是深圳青松云数字科技有限公司(以下简称“青松云数科”),荔枝云服的运营主体是深圳荔枝云服技术有限公司。
从股权关联来看,青松云数科与荔枝云服之间并无任何关联。不过,此前有媒体报道称“荔枝云服与青松云数科拥有相同的商标图案”,意味着两家企业可能存在品牌层面的协同关系。但笔者于3月6日登录天眼查、爱企查等平台查询,发现两家公司注册的商标图案并不相同,不知是误传还是后期发生了变更。

比起商标,更有力的证据,是青松融客服曾在2025年7月对消费日报记者表示,青松融与荔枝云服之间有合作。
荔枝云服是一家一站式付费会员解决方案提供服务商,主要就是为各个贷款平台提供权益服务,向贷款平台用户收取权益费用,青松融不是与之合作的唯一一家贷款平台,闪客融、爱用商城等都与荔枝云服有合作。
为什么要通过第三方机构收取会员费呢?
或许是因为助贷新规明确规定,助贷平台运营机构不得以任何形式,向借款人收取息费。通过荔枝云服这类会员权益服务平台收取会员费,从某种意义来说,就是为助贷平台构建了一道合规的“防火墙”,既规避了监管,还可以分担一部分客户投诉。
那么,是不是只要用户不开通会员,就不用交这“天价”的会员费呢?
事实并非如此,在多位借款人的投诉中,都提到了自己在不知情的情况下被扣取了会员费。此外,根据消费者投诉信息,青松融客服表示该会员是加速放款的权益,不开通的话会影响放款,还有客服对借款人表示不开会员会下不来款,审核5-8个工作日后会被拒。
而加上会员费后,用户贷款的利率早已超过24%的监管要求,部分甚至超过36%。种种迹象,都指向青松融通过借款时强制开通会员,变相收取砍头息,提高贷款利率的事实。
股权结构多层嵌套,实控人担责风险降低
除了高昂的实际年化利率和天价会员费,同样令外界关注的,还有青松云数科神秘的股权迷局。
根据企业预警通收录的企业信息,青松云数科成立于2021年2月,曾用名“深圳市快牛网络科技有限公司”,2024年5月才正式更名为“深圳青松云数字科技有限公司”。
更名当月,青松融还发生了两件“大事”。
其一是增资。青松云数科原股东孙廷元、周鹏飞退出股东行列,新股东深圳市青青控股有限责任公司(以下简称“青青控股”)入局。并对青松云数科进行增资,让青松云数科的注册资本从100万元增长至710万元。
第二件“大事”便是新股东青青控股成立了。企业预警通显示,青青控股的实控人为汪泽华,成立日期是2024年5月7日。紧接着,5月30日,青青控股成为青松云数科的唯一股东。而快牛科技改名为青松云数科的时间也在5月30日。
梳理下来,具体的顺序是2024年5月7日,青青控股成立,23天后,青青控股就携资入股青松云数科,入股当日就是青松云数科更名之日。
高度接近的时间节点,侧面说明青青控股的成立具有一定的目的性和针对性。在更名当日剔除原有股东,选择一个全新的股东进入,剥离原有的关联方,也可以规避原有主体可能存在的合规风险,换个主体继续开展相关业务。
2024年8月,青松云数科进行第二次增资,将注册资本从710万元增长至2000万元,进一步提升资本实力,提高与金融机构合作的竞争力。
回到股权结构上来,股权穿透图显示,青青控股是青青(深圳)投资合伙企业(有限合伙)(以下简称“青青投资”)100%控股的,青青投资成立于2025年5月26日,也是一家较新的公司。最终,股权层层穿透后,青松云数科的实控人为李亚楠。
然而,也有业内人士称,李亚楠只是青松云数科名义上的实控人,青松云数科实际由轻花优品CEO黄夏控制。
从股权结构、关联关系、业务合作等多个方面来看,黄夏和轻花优品似乎都与青松云数科毫无关联,除了少部分知情者,外界很难判断该信息是否正确。但可以确定的是,无论实控人是黄夏还是李亚楠,青松云数科这样嵌套多层股权结构的做法,都有利于降低实控人直接承担违规责任的风险。
随着助贷新规的深入实施,助贷行业将面临新一轮的洗牌,在持续趋严的行业监管框架下,青松融这类游走于合规红线边缘的助贷平台,其高息费模式或许并不具有可持续性。
1.TMT观察网遵循行业规范,任何转载的稿件都会明确标注作者和来源;
2.TMT观察网的原创文章,请转载时务必注明文章作者和"来源:TMT观察网",不尊重原创的行为TMT观察网或将追究责任;
3.作者投稿可能会经TMT观察网编辑修改或补充。
