顾茜茜卸任名下一公司负责人 顾茜茜投资版图揭秘观点
观察君
2025-03-13 16:06
导读
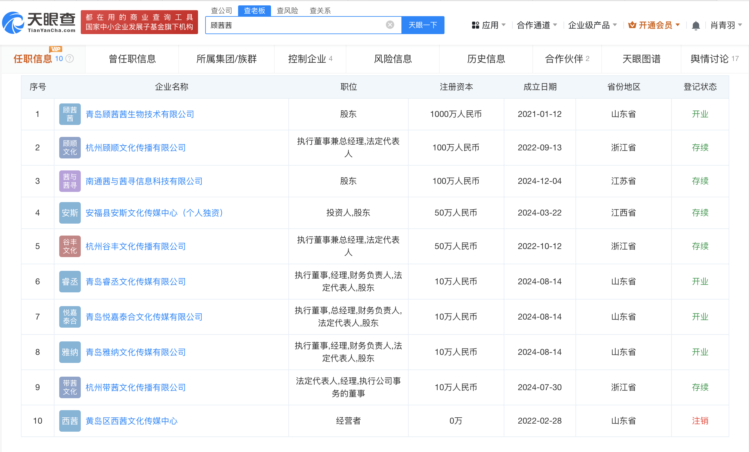
天眼查App显示,近日,南通茜与茜寻信息科技有限公司发生工商变更,顾茜茜卸任该公司法定代表人、执行公司事务的董事,由董宇晨接任,但其目前仍持有该公司40%股份。该公司成立于2024年12月,注册资本100万人民币,经营范围含医疗器械互联网信息服务、电视剧制作、广播电视节目制作经营等。
天眼查App显示,近日,南通茜与茜寻信息科技有限公司发生工商变更,顾茜茜卸任该公司法定代表人、执行公司事务的董事,由董宇晨接任,但其目前仍持有该公司40%股份。该公司成立于2024年12月,注册资本100万人民币,经营范围含医疗器械互联网信息服务、电视剧制作、广播电视节目制作经营等。
天眼查商业履历信息显示,顾茜茜名下有9家公司为存续或开业状态,包括青岛顾茜茜生物技术有限公司、杭州顾顺文化传播有限公司、杭州谷丰文化传播有限公司等,顾茜茜在上述企业中分别担任执行董事、经理、财务负责人等,版图涉及文化传媒、生物技术等领域。



顾茜茜
1.TMT观察网遵循行业规范,任何转载的稿件都会明确标注作者和来源;
2.TMT观察网的原创文章,请转载时务必注明文章作者和"来源:TMT观察网",不尊重原创的行为TMT观察网或将追究责任;
3.作者投稿可能会经TMT观察网编辑修改或补充。
