正荣地产等被强制执行6.7亿观点
观察君
2024-11-27 15:46
导读
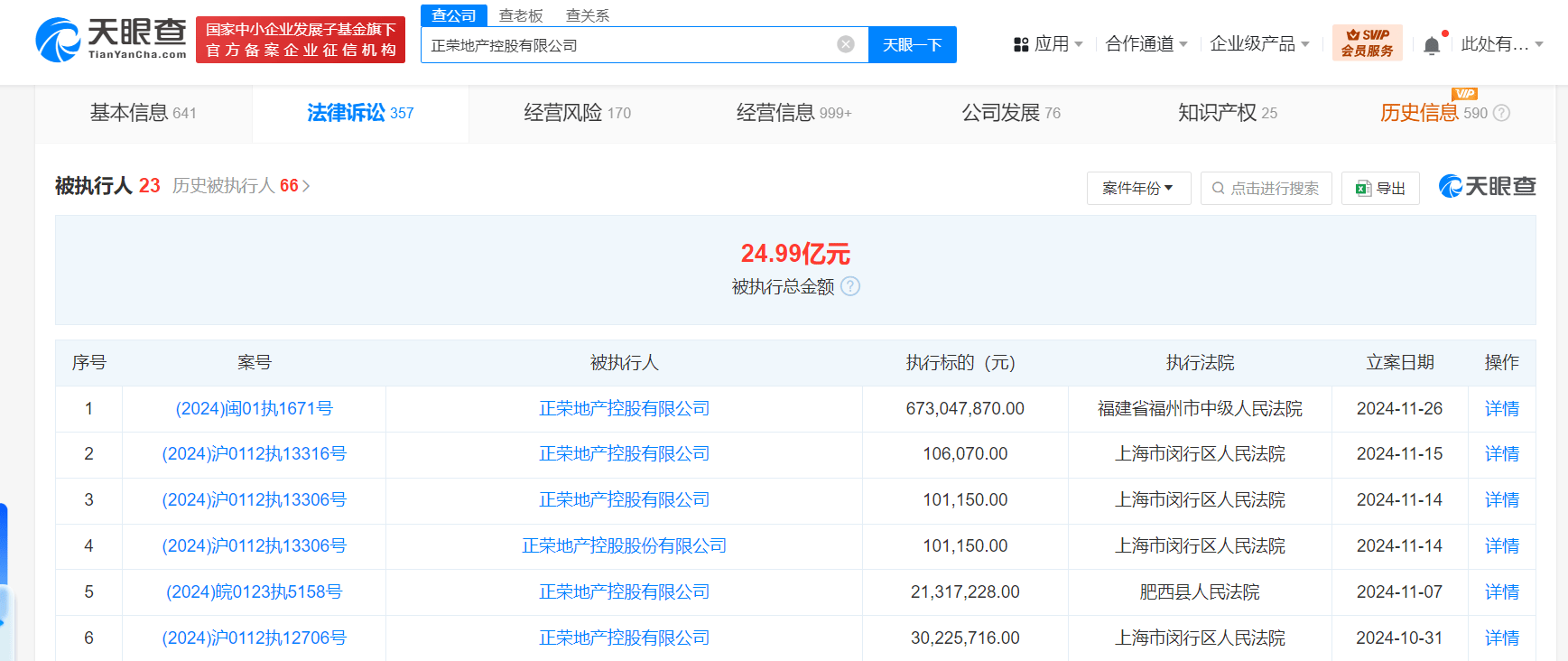
近日,正荣地产控股有限公司及旗下南京正荣江滨投资发展有限公司、正荣正茂置业(南京)有限公司、正荣(天津)房地产开发有限公司新增一则被执行人信息,执行标的6.73亿余元,执行法院为福建省福州市中级人民法院。
天眼查法律诉讼信息显示,近日,正荣地产控股有限公司及旗下南京正荣江滨投资发展有限公司、正荣正茂置业(南京)有限公司、正荣(天津)房地产开发有限公司新增一则被执行人信息,执行标的6.73亿余元,执行法院为福建省福州市中级人民法院。
正荣地产控股有限公司成立于2015年7月,法定代表人为金明捷,注册资本82亿人民币,由福州骏泰商业管理有限公司、福州华策企业管理有限公司共同持股。天眼风险信息显示,该公司现存20余条被执行人信息,被执行总金额超24亿元,此外,该公司还存在多条限制消费令、失信被执行人(老赖)及终本案件信息。


正荣地产
6.7亿
1.TMT观察网遵循行业规范,任何转载的稿件都会明确标注作者和来源;
2.TMT观察网的原创文章,请转载时务必注明文章作者和"来源:TMT观察网",不尊重原创的行为TMT观察网或将追究责任;
3.作者投稿可能会经TMT观察网编辑修改或补充。
