陈梦父母公司已注册陈梦名字商标 陈梦父母公司已注册HOPEWANG商标观点
观察君
2024-08-13 17:14
导读
据报道,陈梦在巴黎奥运会上取得2枚金牌,随后,其在2022年11月开办的陈梦(国科大)乒乓球特色学校再次引发关注。
据报道,陈梦在巴黎奥运会上取得2枚金牌,随后,其在2022年11月开办的陈梦(国科大)乒乓球特色学校再次引发关注。
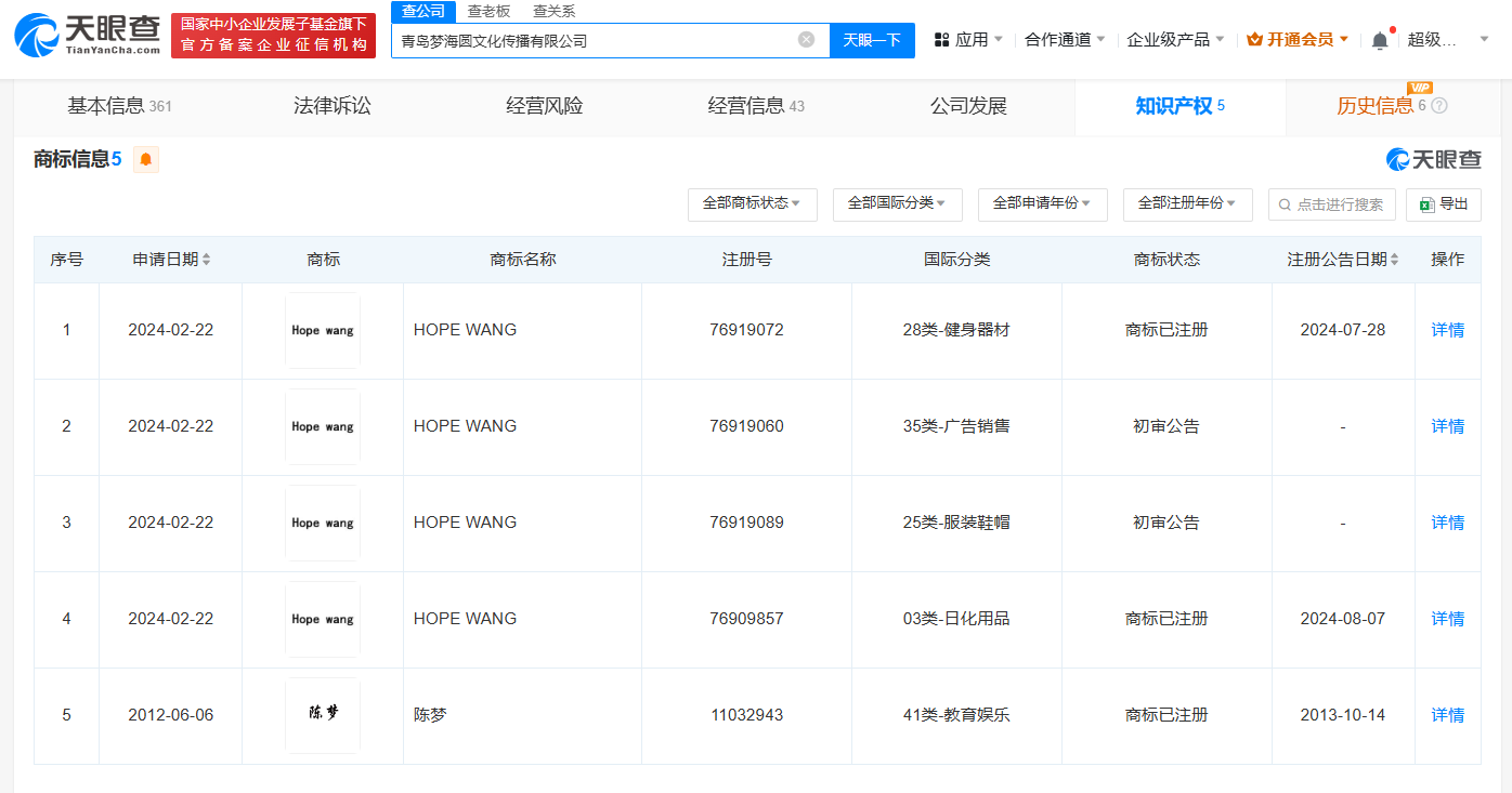
天眼查App显示,青岛梦海圆文化传播有限公司已成功注册1枚“陈梦”商标,国际分类为教育娱乐。近期,该公司申请的健身器材、日化用品类“HOPE WANG”商标已成功注册。该公司成立于2017年11月,法定代表人为逄敏(陈梦母亲),经营范围包括文艺创作、教育咨询服务、文化娱乐经纪人服务等,由逄敏和陈樑(陈梦父亲)共同持股。



陈梦
父母
1.TMT观察网遵循行业规范,任何转载的稿件都会明确标注作者和来源;
2.TMT观察网的原创文章,请转载时务必注明文章作者和"来源:TMT观察网",不尊重原创的行为TMT观察网或将追究责任;
3.作者投稿可能会经TMT观察网编辑修改或补充。
