揭秘发文宣传黄子韬卫生巾关联公司 黄子韬潮牌店商标已含卫生巾商品服务观点
观察君
2025-04-10 14:44
导读
4月9日,黄子韬直播公布卫生巾生产进度,表示自己工厂制作的卫生巾渗透率远超很多品牌,并称将于11号晚上8点上线5万单1分钱试用卫生巾。同时,黄子韬主理潮流品牌“YKYB时尚旗舰店”账号发布有相关视频,并配文“涛哥要做的卫生巾终于出来了”。
4月9日,黄子韬直播公布卫生巾生产进度,表示自己工厂制作的卫生巾渗透率远超很多品牌,并称将于11号晚上8点上线5万单1分钱试用卫生巾。同时,黄子韬主理潮流品牌“YKYB时尚旗舰店”账号发布有相关视频,并配文“涛哥要做的卫生巾终于出来了”。
天眼查App显示,该账号认证主体公司即杭州龙鸣海浪电子商务有限公司成立于2023年5月,法定代表人为傅晓东,注册资本100万人民币,经营范围含互联网销售、品牌管理、组织文化艺术交流活动、文化娱乐经纪人服务、珠宝首饰批发、服装服饰零售、针纺织品销售、针纺织品及原料销售等,由杭州樱龙弦月品牌管理有限公司全资持股,最终受益人为黄子韬。
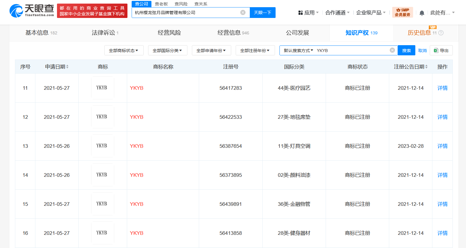
知识产权信息显示,杭州樱龙弦月品牌管理有限公司拥有多枚“YKYB”商标,其中已注册成功的“YKYB”商标中已包含卫生巾商品/服务项目。



黄子韬
卫生巾
1.TMT观察网遵循行业规范,任何转载的稿件都会明确标注作者和来源;
2.TMT观察网的原创文章,请转载时务必注明文章作者和"来源:TMT观察网",不尊重原创的行为TMT观察网或将追究责任;
3.作者投稿可能会经TMT观察网编辑修改或补充。
