胖东来集团发生高管变更 胖东来集团多位高管变更观点
观察君
2025-11-18 16:09
导读
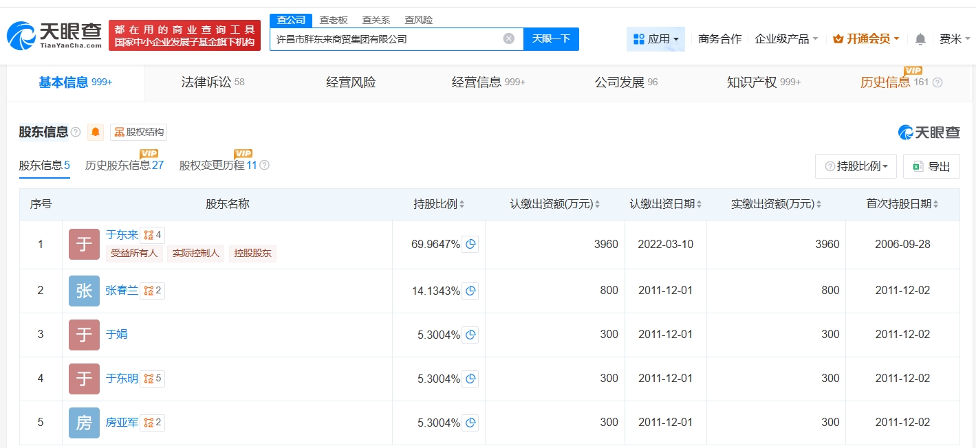
天眼查工商信息显示,近日,许昌市胖东来商贸集团有限公司发生工商变更,于东来增任董事,同时多位高管发生变更。
天眼查工商信息显示,近日,许昌市胖东来商贸集团有限公司发生工商变更,于东来增任董事,同时多位高管发生变更。
许昌市胖东来商贸集团有限公司成立于1997年9月,法定代表人为于东来,注册资本5660万人民币,经营范围包括服装洗涤、鞋类修理、房地产开发销售等。股东信息显示,该公司由于东来、张春兰、于东明等共同持股。



胖东来集团
1.TMT观察网遵循行业规范,任何转载的稿件都会明确标注作者和来源;
2.TMT观察网的原创文章,请转载时务必注明文章作者和"来源:TMT观察网",不尊重原创的行为TMT观察网或将追究责任;
3.作者投稿可能会经TMT观察网编辑修改或补充。
