“随心借”被通报!背后主办者备案超十款借款应用观点
1月26日,广西通信管理局通报了35款侵害用户权益行为的APP,其中一款名为“随心借”的应用因违规使用个人信息被点名,通报显示,该应用主办者为南宁市同正旭宁小额贷款有限公司(本文称“同正旭宁小贷”)。
1月26日,广西通信管理局通报了35款侵害用户权益行为的APP,其中一款名为“随心借”的应用因违规使用个人信息被点名,通报显示,该应用主办者为南宁市同正旭宁小额贷款有限公司(本文称“同正旭宁小贷”)。

图片来源:广西通信管理局通报截图
公开信息显示,这已经不是同正旭宁小贷旗下APP第一次被通报。2025年8月,“闪借备用金”因违规收集个人信息被广西通信管理局点名,该应用主办者为同正旭宁小贷。
天眼查信息显示,同正旭宁小贷成立于2013年,注册资本为5000万元。同正旭宁小贷第一大股东为桂林市亿铭贸易有限公司(本文称“桂林亿铭”),持股比例20%,其余股东均为个人。
桂林亿铭成立于2010年,实控人为蒋双林,公开信息显示,该公司已被列入失信被执行人。
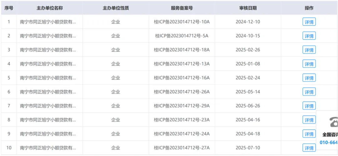
根据ICP/IP地址/域名信息备案管理系统查询结果,2024年以来,同正旭宁小贷密集备案了多个应用,包括放心花借款、车主快贷、小鹅借钱花等等多个与借款相关的应用。


图片来源:ICP/IP地址/域名信息备案管理系统查询截图
2020年发布的《网络小额贷款业务管理暂行办法(征求意见稿)》中提到,经营网络小额贷款业务的小额贷款公司的注册资本不低于人民币10亿元,且为一次性实缴货币资本。跨省级行政区域经营网络小额贷款业务的小额贷款公司的注册资本不低于人民币50亿元,且为一次性实缴货币资本。
根据此要求,备案多个借款应用的同正旭宁小贷存在一定合规性风险。
经营方面,2025年12月,因通过登记的住所或者经营场所无法联系,该公司被南宁市市场监督管理局列入企业经营异常名录。
黑猫投诉平台显示,同正旭宁小贷旗下产品“薪享购”曾被用户投诉。用户投诉称,于2025年11月下载“薪享购”,经操作后,下款3500元,借款期限30天。该平台还要求用户在借款三天内购买一份价值1225元的权益包。后续分别于12月1日、12月18日、12月28日三期还款,合计归还平台4794.04元。该用户要求平台退回权益包费用以及超出24%的部分利息。

图片来源:黑猫投诉平台截图
值得注意的是,同正旭宁小贷的股东方桂林亿铭也备案了两款应用,名为放心用、随心花。
天眼查显示,同正旭宁小贷还关联一家担保公司,名为广西顺宁融资担保有限责任公司(本文称“顺宁融担”)。桂林亿铭的法人蒋亿斌为顺宁融担的监事。顺宁融担成立于2007年,为失信被执行人,该公司曾备案一款名为“易优花”的应用。
1.TMT观察网遵循行业规范,任何转载的稿件都会明确标注作者和来源;
2.TMT观察网的原创文章,请转载时务必注明文章作者和"来源:TMT观察网",不尊重原创的行为TMT观察网或将追究责任;
3.作者投稿可能会经TMT观察网编辑修改或补充。
