罗永浩再次出质锤子科技股份有限公司股权:今年共出质49次快报
TechWeb.com.cn
2019-10-28 15:42
导读
罗永浩将自己的股权出质给北京君信传奇公关咨询有限公司、深圳市凌昱微科技有限公司、东莞市润信环保包装科技有限公司和北京博商智远科技有限公司,锤子科技(北京)股份有限公司新增四条股权出质信息,包括荣益电子(昆山)有限公司、深圳市以琳劳务派遣有限公司、上海金儒传动科技有限公司、深圳市恒盛通科技有限公司、天津华维诺电子有限公司以及北京博酷科技有限公司。
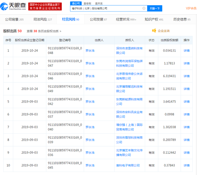
【TechWeb】10月28日,天眼查数据显示,10月24日,锤子科技(北京)股份有限公司新增四条股权出质信息,罗永浩将自己的股权出质给北京君信传奇公关咨询有限公司、深圳市凌昱微科技有限公司、东莞市润信环保包装科技有限公司和北京博商智远科技有限公司。

此前,罗永浩在9月出质股权十次,权人包括深圳市雪球科技有限公司、飞毛腿(福建)电子有限公司、东莞新能源科技有限公司等。
7月30日,出质6次股权,包括荣益电子(昆山)有限公司、深圳市以琳劳务派遣有限公司、上海金儒传动科技有限公司、深圳市恒盛通科技有限公司、天津华维诺电子有限公司以及北京博酷科技有限公司。
7月24日,出质14次。
目前,罗永浩依旧是锤子科技(北京)股份有限公司的法定代表人,并担任董事长兼经理,作为受益所有人,持股27.81%。
科技
有限公司
北京
深圳市
出质
1.TMT观察网遵循行业规范,任何转载的稿件都会明确标注作者和来源;
2.TMT观察网的原创文章,请转载时务必注明文章作者和"来源:TMT观察网",不尊重原创的行为TMT观察网或将追究责任;
3.作者投稿可能会经TMT观察网编辑修改或补充。
