盒马CEO:从未进行过价格战 但有价格战的能力快讯
TechWeb.com.cn
2021-12-06 17:37
导读
对上线商品进行优惠,生鲜电商会否重燃价格战,从没有进行过价格战。
【TechWeb】据新京报贝壳财经,12月6日,记者发现盒马线上APP(上海地区)推出了“斩钉价”,对上线商品进行优惠。记者浏览盒马APP发现,“斩钉价”覆盖上百款商品,包括水果蔬菜、海鲜水产、肉蛋禽等品类。
上述优惠也引发消费者探讨,“‘斩钉价’疑指向生鲜电商叮咚买菜,生鲜电商会否重燃价格战”。
对此,盒马方面回应记者称,“斩钉价”意为斩钉截铁地降价,只是年底惠民季中正常的优惠行为,回馈消费者,为稳价保供做贡献,行业间无需联想解读。
盒马事业群总裁侯毅也在微信朋友圈表示,盒马成立至今,从没有进行过价格战,一直追求价值战,面对生鲜行业多业态的激烈竞争,盒马同样有价格战的能力。
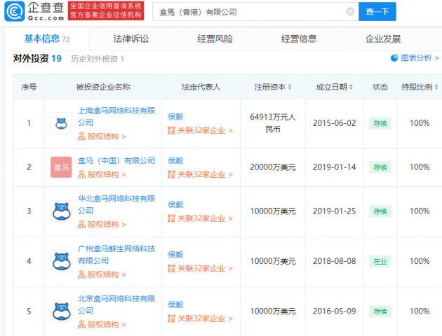
企查查APP显示,盒马关联公司上海盒马网络科技有限公司,成立于2015年6月,法定代表人为侯毅,由盒马(香港)有限公司(Hema (Hong Kong) Limited)全资持股。
企查查显示,盒马(香港)有限公司对外投资企业近20家,间接持股企业近40家。



价格战
优惠
记者
APP
生鲜
1.TMT观察网遵循行业规范,任何转载的稿件都会明确标注作者和来源;
2.TMT观察网的原创文章,请转载时务必注明文章作者和"来源:TMT观察网",不尊重原创的行为TMT观察网或将追究责任;
3.作者投稿可能会经TMT观察网编辑修改或补充。
