华能集团旗下海宁投资合伙企业增资至617.51亿观点
观察君
2026-03-03 17:49
导读
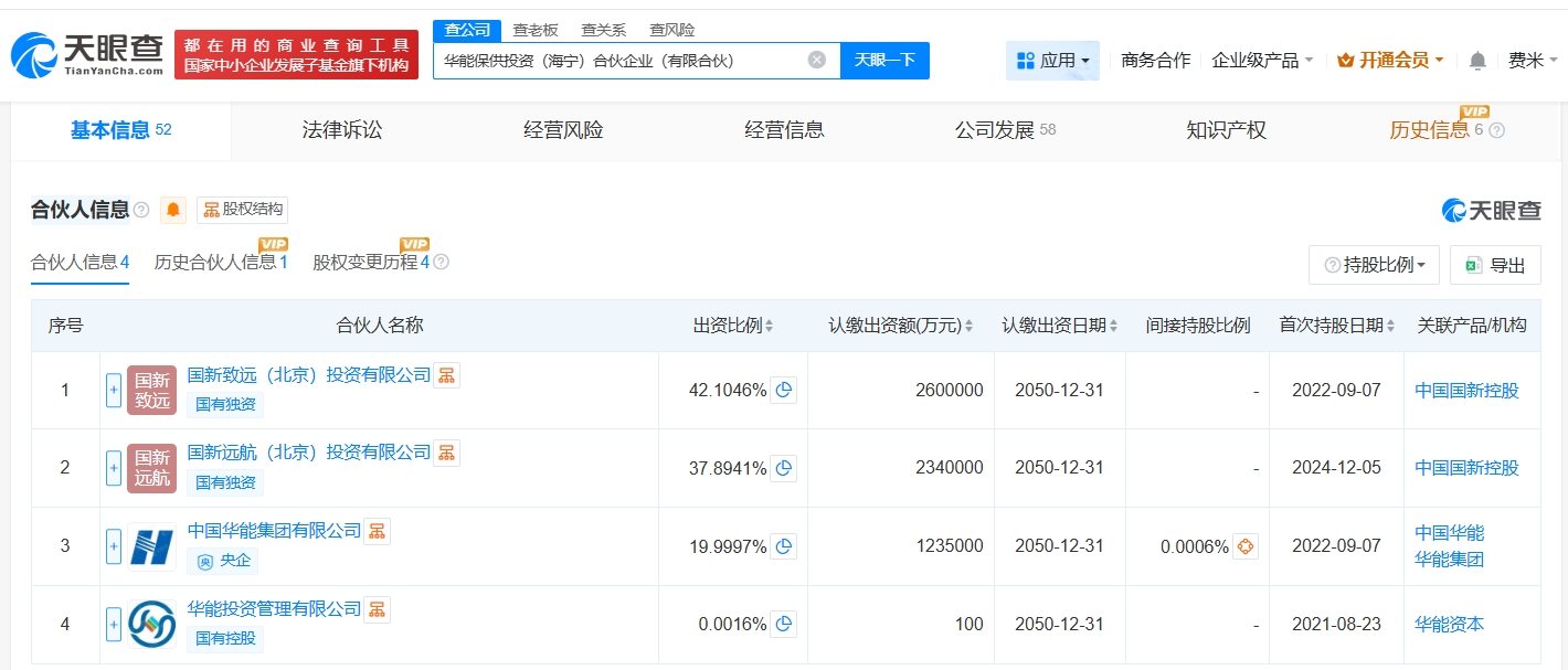
天眼查工商信息显示,近日,华能保供投资(海宁)合伙企业(有限合伙)发生工商变更,出资额由580.01亿人民币增至617.51亿人民币。
天眼查工商信息显示,近日,华能保供投资(海宁)合伙企业(有限合伙)发生工商变更,出资额由580.01亿人民币增至617.51亿人民币。
华能保供投资(海宁)合伙企业(有限合伙)成立于2021年8月,执行事务合伙人为华能投资管理有限公司,经营范围为股权投资、创业投资、自有资金投资的资产管理服务,由中国国新旗下国新致远(北京)投资有限公司、国新远航(北京)投资有限公司、中国华能集团有限公司、华能投资管理有限公司共同出资。



华能集团
1.TMT观察网遵循行业规范,任何转载的稿件都会明确标注作者和来源;
2.TMT观察网的原创文章,请转载时务必注明文章作者和"来源:TMT观察网",不尊重原创的行为TMT观察网或将追究责任;
3.作者投稿可能会经TMT观察网编辑修改或补充。
