阿尔特申请注册垂直AI创绘工具商标 阿尔特申请注册TAI系列商标观点
观察君
2025-04-10 14:43
导读
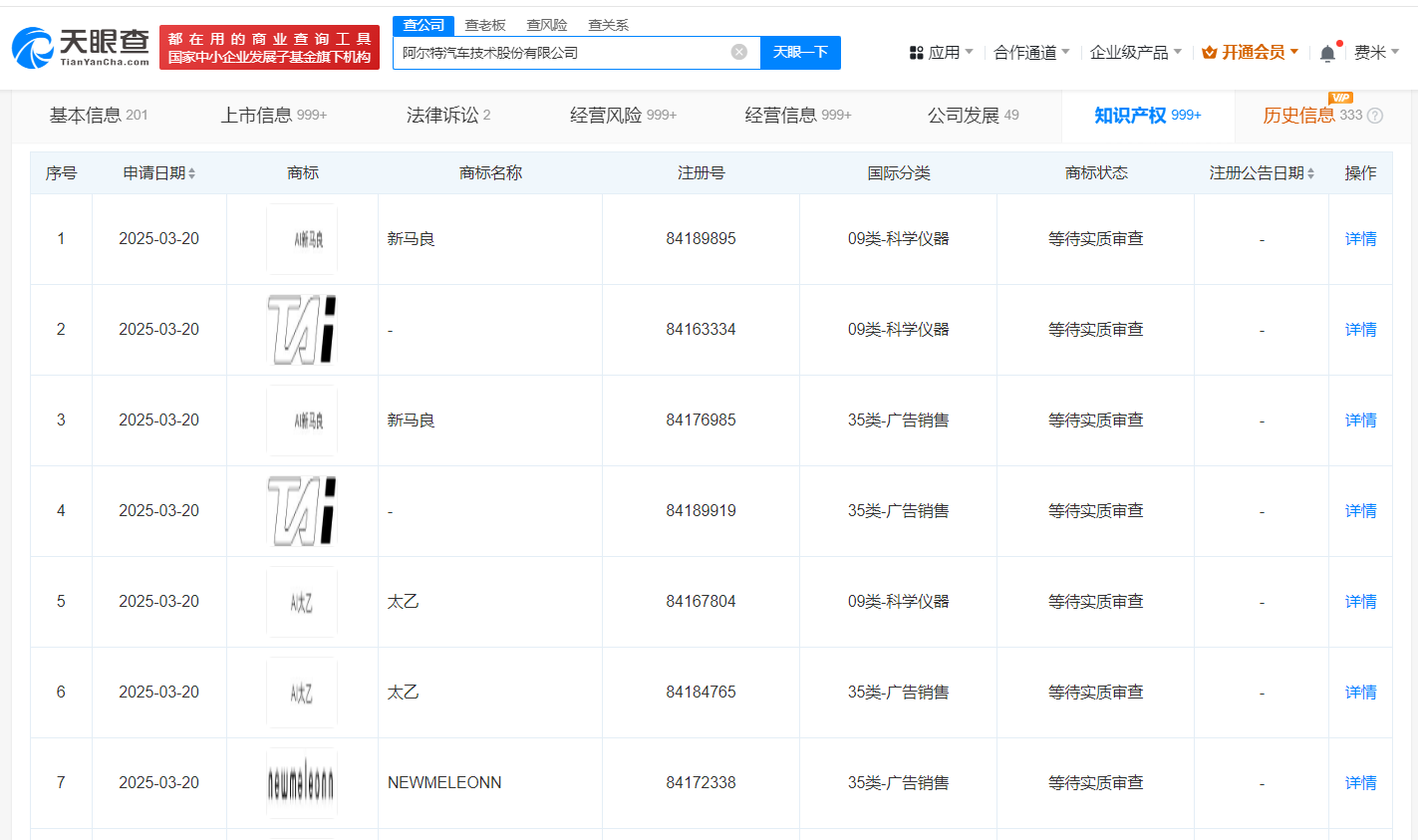
天眼查知识产权信息显示,近日,阿尔特(300825) 申请注册“TAI”“AI太乙”“AI新马良”“newmeleonn”商标,国际分类为科学仪器、广告销售,当前商标状态均为等待实质审查。
天眼查知识产权信息显示,近日,阿尔特(300825) 申请注册“TAI”“AI太乙”“AI新马良”“newmeleonn”商标,国际分类为科学仪器、广告销售,当前商标状态均为等待实质审查。
据媒体此前报道,近期阿尔特在上海举办AI产品发布会,正式发布垂直AI创绘工具“TAI”,据悉这是首款聚焦于汽车造型设计的AI生产力工具。


阿尔特
1.TMT观察网遵循行业规范,任何转载的稿件都会明确标注作者和来源;
2.TMT观察网的原创文章,请转载时务必注明文章作者和"来源:TMT观察网",不尊重原创的行为TMT观察网或将追究责任;
3.作者投稿可能会经TMT观察网编辑修改或补充。
