小米、联想投资当红齐天 后者为VR与AR线下社交娱乐体验服务提供商快讯
TechWeb.com.cn
2021-12-02 10:07
导读
企业策划等,公司成立于2008年,新增小米关联公司瀚星创业投资有限公司、天津联想海河智能科技产业基金合伙企业(有限合伙)、英特尔亚太研发有限公司等为股东。
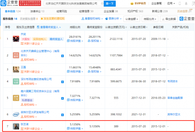
【TechWeb】12月2日,企查查APP显示,近日,北京当红齐天国际文化科技发展集团有限公司发生工商变更,新增小米关联公司瀚星创业投资有限公司、天津联想海河智能科技产业基金合伙企业(有限合伙)、英特尔亚太研发有限公司等为股东,同时公司注册资本由6662.97万元人民币增加至7574.61万元人民币。
企查查信息显示,当红齐天是一家VR与AR线下社交娱乐体验服务提供商,公司成立于2008年,法定代表人为齐笑,经营范围包含:电脑动画设计;承办展览展示活动;影视策划;企业策划等。值得一提的是,张艺谋对该公司持股5.14%。




公司
有限公司
科技
企业
当红
1.TMT观察网遵循行业规范,任何转载的稿件都会明确标注作者和来源;
2.TMT观察网的原创文章,请转载时务必注明文章作者和"来源:TMT观察网",不尊重原创的行为TMT观察网或将追究责任;
3.作者投稿可能会经TMT观察网编辑修改或补充。
