杨光的快乐生活已被注册商标观点
观察君
2025-07-09 20:32
导读
据媒体报道,今天下午,据相声演员苗阜、天津知名相声主持人小佀老师处消息,相声演员杨少华去世,享年九十四岁。公开信息显示,杨少华曾与杨议共同创办杨光相声社。公开信息显示,杨少华曾出演《杨光的快乐生活》系列电视剧及电影等。
据媒体报道,今天下午,据相声演员苗阜、天津知名相声主持人小佀老师处消息,相声演员杨少华去世,享年九十四岁。公开信息显示,杨少华曾与杨议共同创办杨光相声社。公开信息显示,杨少华曾出演《杨光的快乐生活》系列电视剧及电影等。
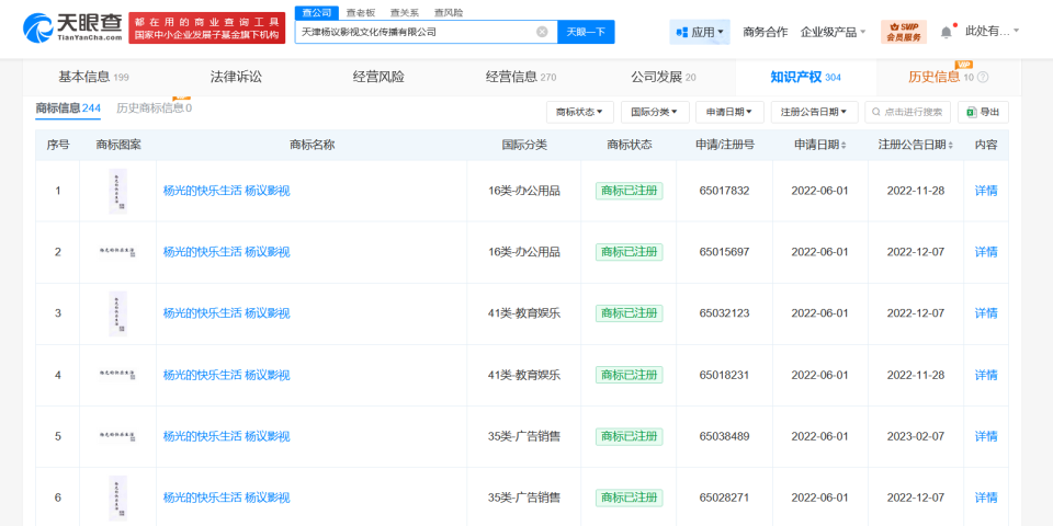
天眼查App显示,杨光相声社商标持有公司天津杨议影视文化传播有限公司成立于2009年9月,法定代表人为杨伦,注册资本300万人民币,经营范围为影视、文化活动、企业管理策划,礼仪庆典、会议服务,广告业务,文化教育信息咨询,影视器材租赁,展览展示服务,由杨义、张春梅共同持股。知识产权信息显示,该公司已注册多枚“杨光的快乐生活”“嘛钱不钱的乐呵乐呵得了 阳光的快乐生活”“杨光的快乐生活 杨议影视”等商标,国际分类涉及啤酒饮料、教育娱乐、广告销售等。




杨光的快乐生活
1.TMT观察网遵循行业规范,任何转载的稿件都会明确标注作者和来源;
2.TMT观察网的原创文章,请转载时务必注明文章作者和"来源:TMT观察网",不尊重原创的行为TMT观察网或将追究责任;
3.作者投稿可能会经TMT观察网编辑修改或补充。
