又一家逾40年会计所被重罚 中兴财光华注册资本缩水超五成观点
观察君
2026-04-15 21:03
导读
据报道,因在“东旭系”审计案中违法执业,中兴财光华会计师事务所(特殊普通合伙)被财政部暂停经营业务12个月,并被罚没2.52亿元。
据报道,因在“东旭系”审计案中违法执业,中兴财光华会计师事务所(特殊普通合伙)被财政部暂停经营业务12个月,并被罚没2.52亿元。
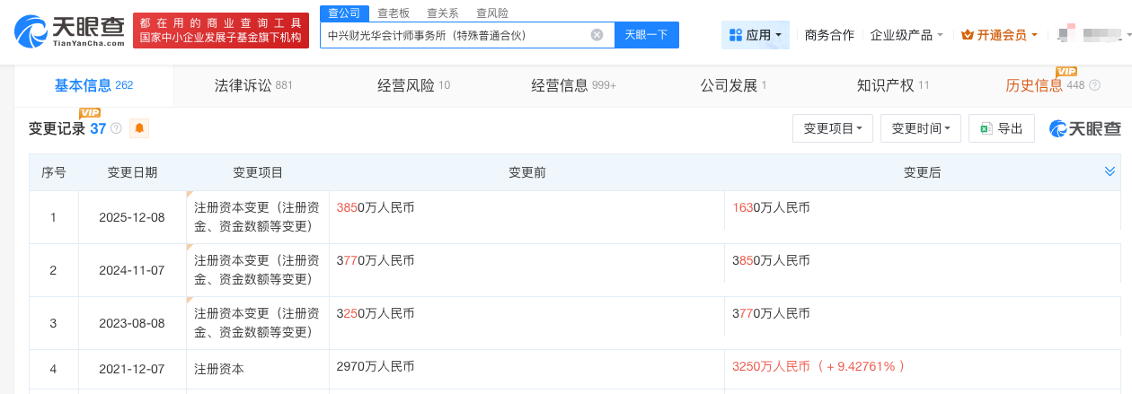
天眼查App显示,中兴财光华会计师事务所(特殊普通合伙)成立于2013年11月,执行事务合伙人为秦卫国,注册资本1630万人民币。值得一提的是,2025年12月,该所注册资本由3850万人民币减少至1630万人民币。风险信息显示,目前该所涉及多起被执行案件。


中兴财光华
1.TMT观察网遵循行业规范,任何转载的稿件都会明确标注作者和来源;
2.TMT观察网的原创文章,请转载时务必注明文章作者和"来源:TMT观察网",不尊重原创的行为TMT观察网或将追究责任;
3.作者投稿可能会经TMT观察网编辑修改或补充。
