盒马申请注册“屁股脸”商标快讯
TechWeb.com.cn
2021-12-27 18:05
导读
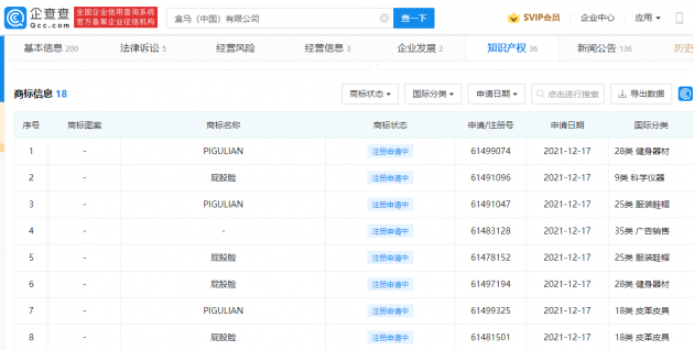
目前商标状态均为申请中,屁股脸,商标。
【TechWeb】12月27日,企查查APP显示,12月17日,盒马(中国)有限公司申请注册多个“屁股脸”“PIGULIAN”商标,国际分类涉及广告销售、服装鞋帽等,目前商标状态均为申请中。据悉,盒马IP“盒马先生”经常被网友戏称为“屁股脸”。


申请
商标
屁股
中国
有限公司
1.TMT观察网遵循行业规范,任何转载的稿件都会明确标注作者和来源;
2.TMT观察网的原创文章,请转载时务必注明文章作者和"来源:TMT观察网",不尊重原创的行为TMT观察网或将追究责任;
3.作者投稿可能会经TMT观察网编辑修改或补充。
