创始人卢文庆与三只羊无股权关联 卢文庆妻子为三只羊集团背后股东观点
观察君
2024-09-04 12:56
导读
近期,主播辛巴与三只羊因带货大闸蟹互撕,随后辛巴爆料三只羊诸多问题。目前,三只羊集团创始人卢文庆抖音社交账号已设为私密状态。
近期,主播辛巴与三只羊因带货大闸蟹互撕,随后辛巴爆料三只羊诸多问题。目前,三只羊集团创始人卢文庆抖音社交账号已设为私密状态。
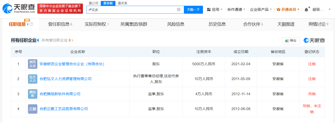
天眼查App显示,卢文庆关联的安徽朗贤企业管理合伙企业(有限合伙)、合肥弘文人力资源管理有限公司等4家企业均为注销或吊销未注销状态。曾任职信息显示,其曾为合肥三只羊文化传媒有限公司、合肥耀玥诚品品牌管理有限公司等公司股东。目前,卢文庆与三只羊集团并无股权关联。
值得一提的是,卢文庆妻子吴小燕共关联6家公司,包括合肥耀玥诚品品牌管理有限公司、三只羊(合肥)控股集团有限公司等,其在上述公司担任执行董事、总经理、财务负责人等职务。其中,三只羊(合肥)控股集团有限公司由合肥领头羊文化传媒有限公司和合肥耀玥诚品品牌管理有限公司分别持股67%、33%,合肥耀玥诚品品牌管理公司则由吴小燕持股99%。




卢文庆
三只羊
1.TMT观察网遵循行业规范,任何转载的稿件都会明确标注作者和来源;
2.TMT观察网的原创文章,请转载时务必注明文章作者和"来源:TMT观察网",不尊重原创的行为TMT观察网或将追究责任;
3.作者投稿可能会经TMT观察网编辑修改或补充。
