盘点雪梨商业版图 雪梨名下多家涉偷税企业已注销观点
观察君
2024-08-28 13:40
导读
8月28日,有博主爆料称雪梨当小三、吸毒等。目前,雪梨方面并未回应。
8月28日,有博主爆料称雪梨当小三、吸毒等。目前,雪梨方面并未回应。
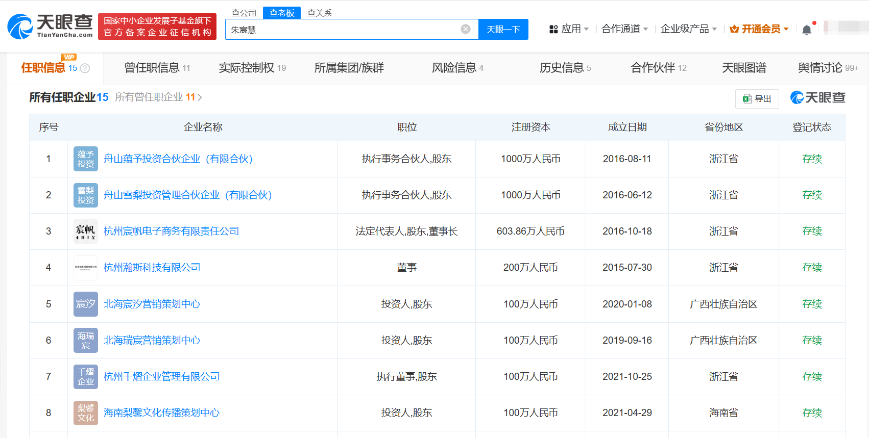
天眼查App显示,雪梨(本名朱宸慧)共关联十余家企业,其中8家为存续状态,包括杭州宸帆电子商务有限责任公司、舟山雪梨投资管理合伙企业(有限合伙)、杭州千熠企业管理有限公司、北海瑞宸营销策划中心等。雪梨在上述企业中多担任投资人、董事长、执行董事等职务,并持有或间接持有全部8家企业股份。
值得一提的是,此前,雪梨通过设立多家个人独资企业,偷逃个人所得税3036.95万元,后于2021年被浙江省杭州市税务部门罚款6555万元。其中,涉及偷逃税的上海豆梓麻营销策划中心、上海皇桑营销策划中心已于2021年注销,宜春市宜阳新区豆梓麻营销服务中心、宜春市宜阳新区黄桑营销服务中心也于今年注销。



雪梨
吸毒
1.TMT观察网遵循行业规范,任何转载的稿件都会明确标注作者和来源;
2.TMT观察网的原创文章,请转载时务必注明文章作者和"来源:TMT观察网",不尊重原创的行为TMT观察网或将追究责任;
3.作者投稿可能会经TMT观察网编辑修改或补充。
