网红铁头关联公司已注销 铁头关联公司商标申请均被驳回观点
观察君
2024-08-27 21:32
导读
据报道,有网友发帖称,网红“铁头惩恶扬善”已被警方抓获,并晒出一张杭州市公安局滨江区分局的扣押决定书。记者从杭州警方处获悉,铁头确已被控制,相关案件正在侦办中。
据报道,有网友发帖称,网红“铁头惩恶扬善”已被警方抓获,并晒出一张杭州市公安局滨江区分局的扣押决定书。记者从杭州警方处获悉,铁头确已被控制,相关案件正在侦办中。
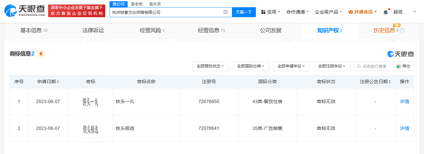
天眼查App显示,铁头姐姐董某关联的杭州铁拳文化传媒有限公司已于去年10月注销。该公司成立于2023年6月,注册资本50万人民币,经营范围含个人商务服务、文化娱乐经纪人服务、互联网销售、互联网直播技术服务等。变更记录显示,去年7月,董某某(铁头)卸任该公司法定代表人、执行董事、经理、财务负责人,并退出股东行列,改由其姐姐董某担任上述职务并全资持股。知识产权信息显示,该公司曾申请“铁头一丸”“铁头极选”商标,当前商标申请均被驳回,处于无效状态。



网红
铁头
1.TMT观察网遵循行业规范,任何转载的稿件都会明确标注作者和来源;
2.TMT观察网的原创文章,请转载时务必注明文章作者和"来源:TMT观察网",不尊重原创的行为TMT观察网或将追究责任;
3.作者投稿可能会经TMT观察网编辑修改或补充。
