小米申请注册多枚U系列商标 小米申请注册XIAOMI FU等商标观点
观察君
2025-01-09 14:46
导读
近日,小米科技有限责任公司申请注册“XIAOMI FU”“XIAOMI WU”“XIAOMI OU”“XIAOMI MU”“XIAOMI GU”“XIAOMI RU”商标,国际分类为运输工具,当前商标状态均为等待实质审查。
天眼查知识产权信息显示,近日,小米科技有限责任公司申请注册“XIAOMI FU”“XIAOMI WU”“XIAOMI OU”“XIAOMI MU”“XIAOMI GU”“XIAOMI RU”商标,国际分类为运输工具,当前商标状态均为等待实质审查。
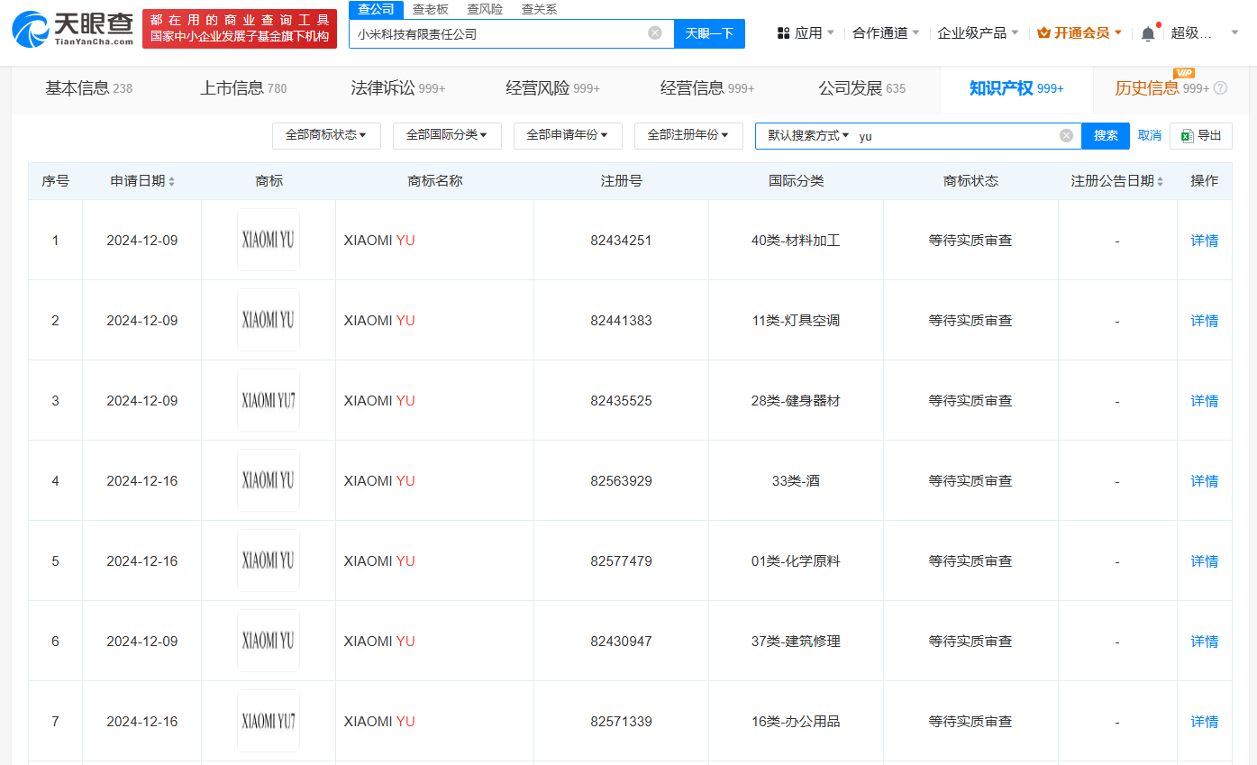
据报道,在小米汽车SU7取得市场热烈反响后,雷军再次携小米汽车YU7进军汽车市场,这款新车预计将于今年5月份前后发布,并有望在6月或7月正式上市。此前,小米科技有限责任公司已申请注册多枚“XIAOMI SU”“XIAOMI YU”商标。



小米
XIAOMI
FU
1.TMT观察网遵循行业规范,任何转载的稿件都会明确标注作者和来源;
2.TMT观察网的原创文章,请转载时务必注明文章作者和"来源:TMT观察网",不尊重原创的行为TMT观察网或将追究责任;
3.作者投稿可能会经TMT观察网编辑修改或补充。
