黄子韬近日刚增持卫生巾公司 黄子韬卫生巾公司近期获得质量管理体系认证观点
6月中旬,一名消费者发帖称,使用歌手黄子韬创办的“朵薇”品牌卫生巾时发现黑色异物,联系客服后,被告知检验结果为合格,该消费者已将产品寄回。该消费者称,“朵薇”方发的是4月份的检验报告,其想知道这个黑色异物是什么。帖文中相关图片显示,近距离拍摄下,能看到卫生巾表面有两处细小的黑点。
6月中旬,一名消费者发帖称,使用歌手黄子韬创办的“朵薇”品牌卫生巾时发现黑色异物,联系客服后,被告知检验结果为合格,该消费者已将产品寄回。该消费者称,“朵薇”方发的是4月份的检验报告,其想知道这个黑色异物是什么。帖文中相关图片显示,近距离拍摄下,能看到卫生巾表面有两处细小的黑点。
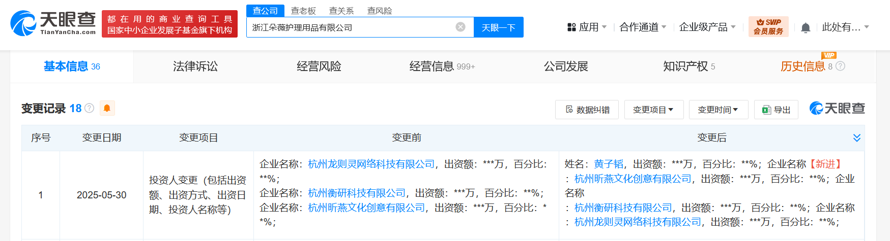
天眼查App显示,黄子韬卫生巾品牌关联公司浙江朵薇护理用品有限公司成立于2021年6月,法定代表人为徐嘉斌,注册资本1000万人民币,经营范围含卫生用品和一次性使用医疗用品生产、货物进出口、卫生用品和一次性使用医疗用品销售等,由杭州衡研科技有限公司、杭州昕燕文化创意有限公司、杭州龙则灵网络科技有限公司、黄子韬共同持股。值得一提的是,近日,该公司发生工商变更,新增黄子韬为股东并持股15%,杭州衡研科技有限公司持股比例由55%下降至40%。此前,黄子韬通过杭州龙则灵网络科技有限公司间接持有该公司股份。
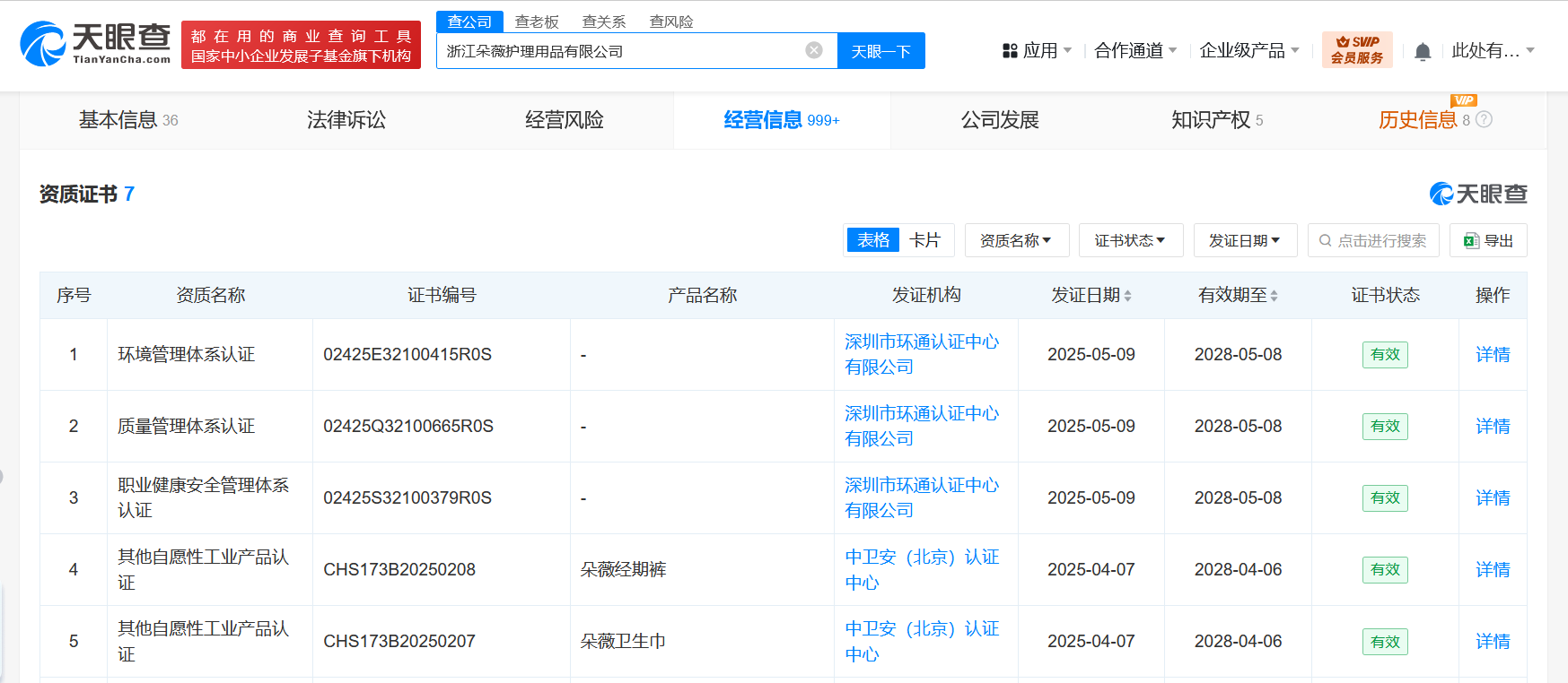
对外投资信息显示,该公司已投资成立多家公司,包括近期新成立的杭州朵薇供应链有限公司、宁波朵玥科技有限公司等。此外,该公司近日已获得环境管理体系认证、质量管理体系认证、职业健康安全管理体系认证。




1.TMT观察网遵循行业规范,任何转载的稿件都会明确标注作者和来源;
2.TMT观察网的原创文章,请转载时务必注明文章作者和"来源:TMT观察网",不尊重原创的行为TMT观察网或将追究责任;
3.作者投稿可能会经TMT观察网编辑修改或补充。
