华为引望申请乾崑智行商标 华为引望申请多个乾崑系列商标观点
观察君
2025-03-06 15:50
导读
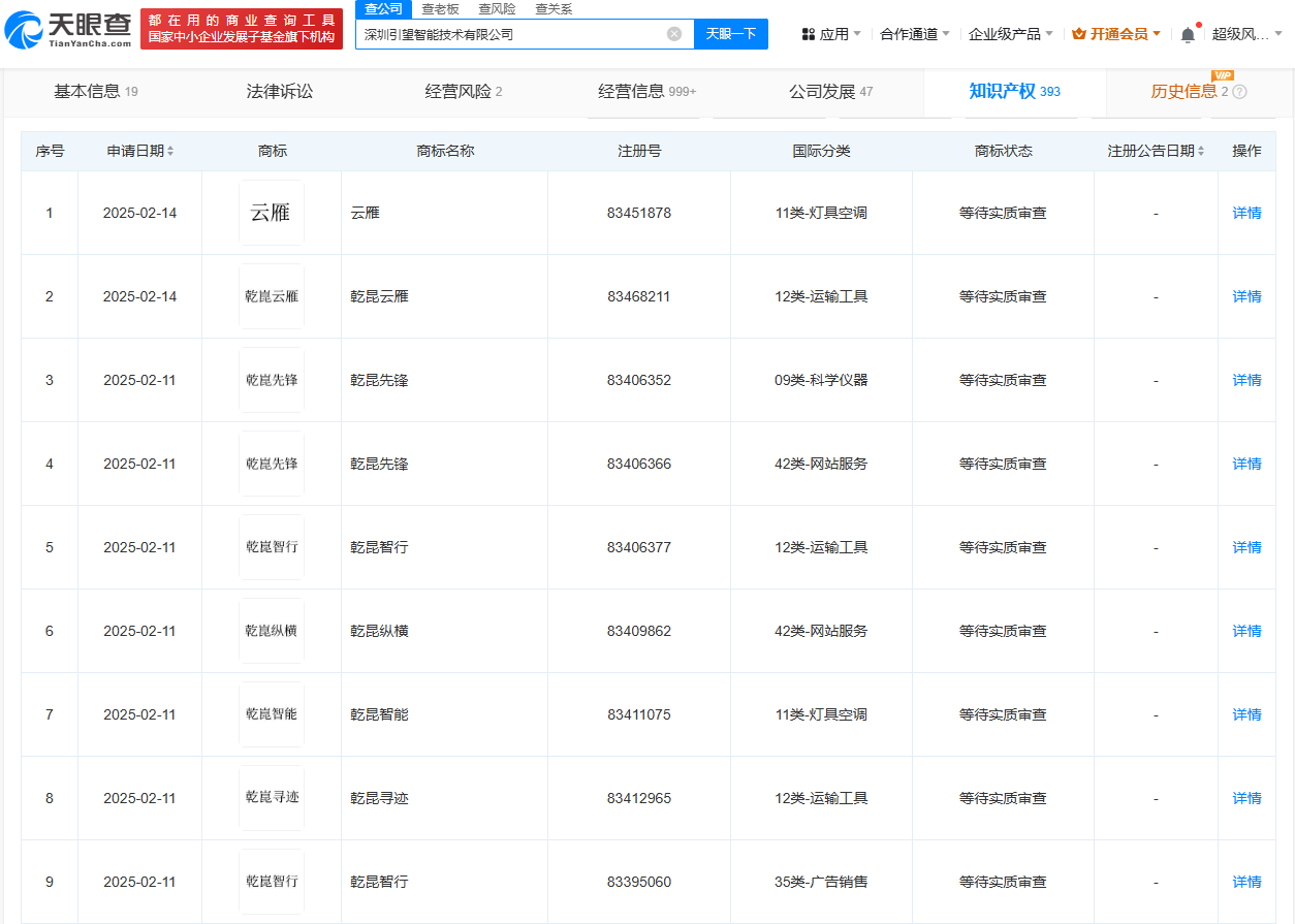
近日,深圳引望智能技术有限公司申请注册“乾崑智行”“乾崑智能”“乾崑云雁”“乾崑纵横”“乾崑先锋”“乾崑寻迹”商标,国际分类涉及运输工具、广告销售、网站服务等,当前商标状态均为等待实质审查。
天眼查财产线索信息显示,近日,深圳引望智能技术有限公司申请注册“乾崑智行”“乾崑智能”“乾崑云雁”“乾崑纵横”“乾崑先锋”“乾崑寻迹”商标,国际分类涉及运输工具、广告销售、网站服务等,当前商标状态均为等待实质审查。
该公司成立于2024年1月,法定代表人为郑丽英,注册资本10亿人民币,经营范围包括智能车载设备制造、智能车载设备销售、汽车零部件研发、汽车零部件及配件制造、人工智能理论与算法软件开发等,由华为技术有限公司全资持股。



华为
引望
1.TMT观察网遵循行业规范,任何转载的稿件都会明确标注作者和来源;
2.TMT观察网的原创文章,请转载时务必注明文章作者和"来源:TMT观察网",不尊重原创的行为TMT观察网或将追究责任;
3.作者投稿可能会经TMT观察网编辑修改或补充。
