吉利申请超醇电混商标 吉利申请银河超醇电混商标观点
观察君
2024-12-02 17:46
导读
据媒体报道,近期,吉利控股集团董事长李书福在2024绿色甲醇能源产业发展论坛上表示,在乘用车领域,吉利下一代甲醇乘用车采用“醇氢动力”的超醇电混技术。
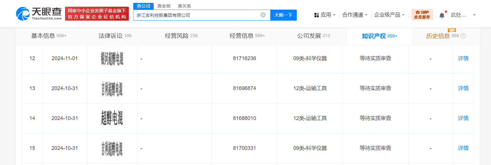
天眼查知识产权信息显示,近日,浙江吉利控股集团有限公司申请注册“超醇电混”“吉利超醇电混”“银河超醇电混”商标,国际分类为运输工具、科学仪器,当前商标状态均为等待实质审查。
据媒体报道,近期,吉利控股集团董事长李书福在2024绿色甲醇能源产业发展论坛上表示,在乘用车领域,吉利下一代甲醇乘用车采用“醇氢动力”的超醇电混技术。


吉利
超醇电混
1.TMT观察网遵循行业规范,任何转载的稿件都会明确标注作者和来源;
2.TMT观察网的原创文章,请转载时务必注明文章作者和"来源:TMT观察网",不尊重原创的行为TMT观察网或将追究责任;
3.作者投稿可能会经TMT观察网编辑修改或补充。
