黑白颠周媛名下关联8家企业 黑白颠周媛1分钟视频报价1万观点
观察君
2026-01-21 14:35
导读
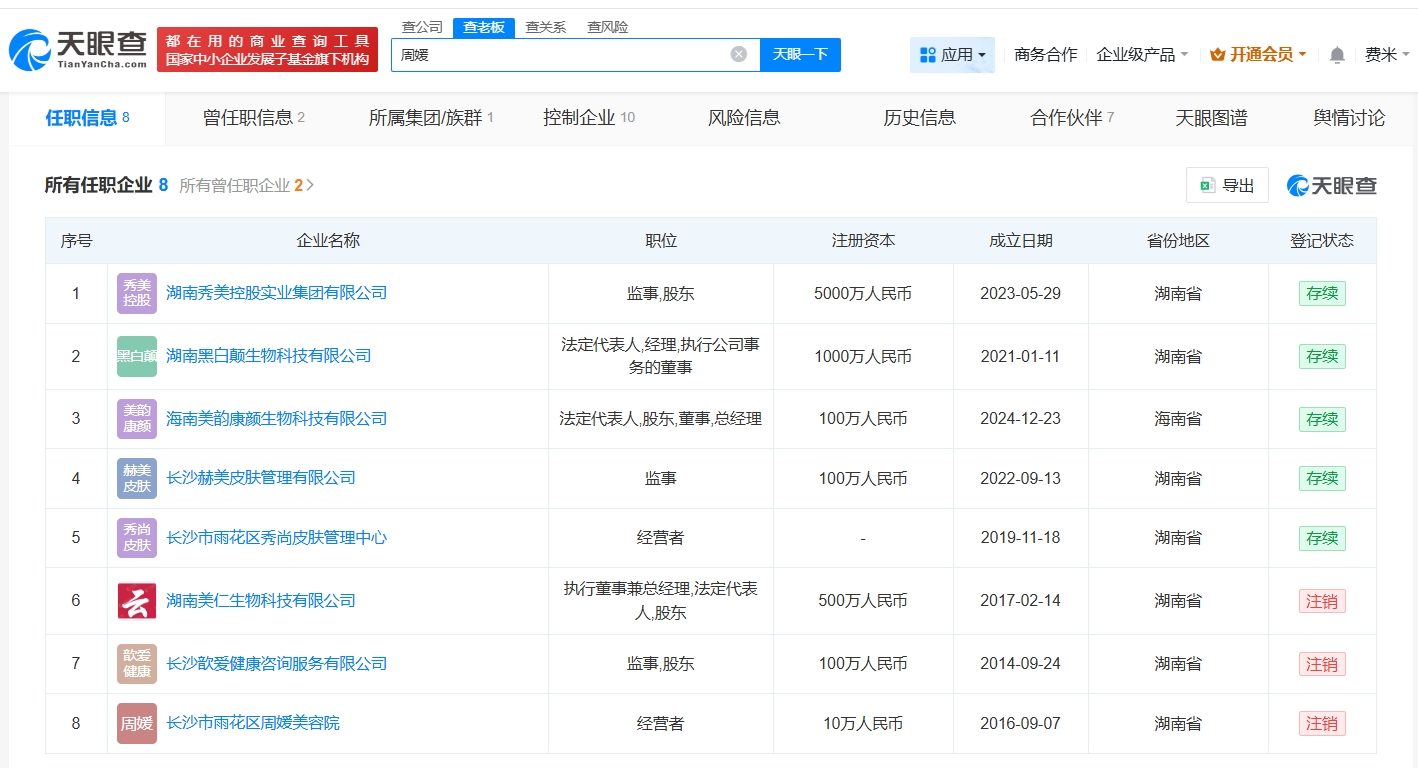
天眼查任职信息显示,周媛名下关联8家企业,其中5家处于存续状态,包括湖南秀美控股实业集团有限公司、湖南黑白颠生物科技有限公司、海南美韵康颜生物科技有限公司等,周媛在上述公司担任监事、董事等职务。值得一提的是,黑白颠日常说关联公司湖南黑白颠生物科技有限公司成立于2021年1月,法定代表人为周媛,注册资本1000万人民币,经营范围包括工程和技术研究和试验发展、教育咨询服务、体育竞赛组织等。
天眼查任职信息显示,周媛名下关联8家企业,其中5家处于存续状态,包括湖南秀美控股实业集团有限公司、湖南黑白颠生物科技有限公司、海南美韵康颜生物科技有限公司等,周媛在上述公司担任监事、董事等职务。值得一提的是,黑白颠日常说关联公司湖南黑白颠生物科技有限公司成立于2021年1月,法定代表人为周媛,注册资本1000万人民币,经营范围包括工程和技术研究和试验发展、教育咨询服务、体育竞赛组织等。股东信息显示,该公司由湖南秀美控股实业集团有限公司、长沙奔赋科技合伙企业(有限合伙)、陈玲玲共同持股。
第三方数据显示,截至1月21日11时,黑白颠周视频平台粉丝数为15.2万,今年涨粉超5万。商业化水平显示,其1-20s、21-60s、60s以上视频广告报价分别为1400元、2000元、1万元。




黑白颠周
1.TMT观察网遵循行业规范,任何转载的稿件都会明确标注作者和来源;
2.TMT观察网的原创文章,请转载时务必注明文章作者和"来源:TMT观察网",不尊重原创的行为TMT观察网或将追究责任;
3.作者投稿可能会经TMT观察网编辑修改或补充。
