百度向旗下公司转让文心一言商标 百度将多枚文心一言商标转让至旗下公司观点
观察君
2025-02-15 09:23
导读
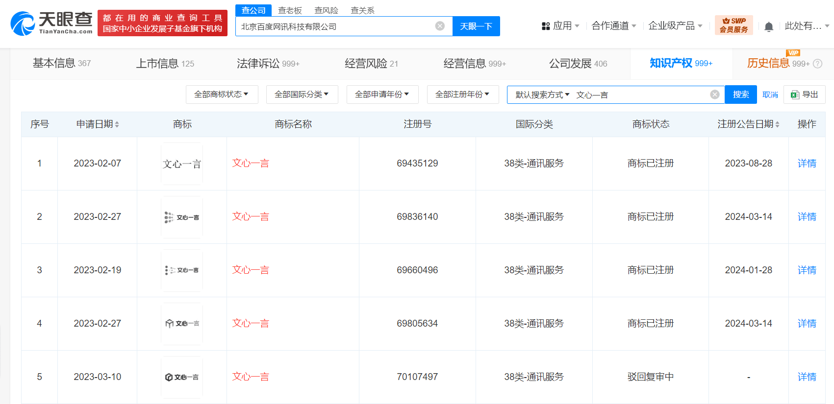
天眼查知识产权信息显示,近日,百度在线网络技术(北京)有限公司向北京百度网讯科技有限公司转让多枚“文心一言”商标,国际分类均为通讯服务,上述商标申请于2023年2月至3月,当前商标状态多为已注册,其中一枚商标状态为驳回复审中。
天眼查知识产权信息显示,近日,百度在线网络技术(北京)有限公司向北京百度网讯科技有限公司转让多枚“文心一言”商标,国际分类均为通讯服务,上述商标申请于2023年2月至3月,当前商标状态多为已注册,其中一枚商标状态为驳回复审中。
北京百度网讯科技有限公司成立于2001年6月,法定代表人为梁志祥,注册资本约134.2亿人民币,经营范围含计算机系统服务、数据处理服务、汽车零部件及配件制造、票务代理服务、网络文化经营、演出经纪、互联网新闻信息服务等,由李彦宏、崔珊珊共同持股。



百度
文心一言
1.TMT观察网遵循行业规范,任何转载的稿件都会明确标注作者和来源;
2.TMT观察网的原创文章,请转载时务必注明文章作者和"来源:TMT观察网",不尊重原创的行为TMT观察网或将追究责任;
3.作者投稿可能会经TMT观察网编辑修改或补充。
