福建铁路公司增资至377.1亿 增幅约15%观点
观察君
2026-01-09 14:59
导读
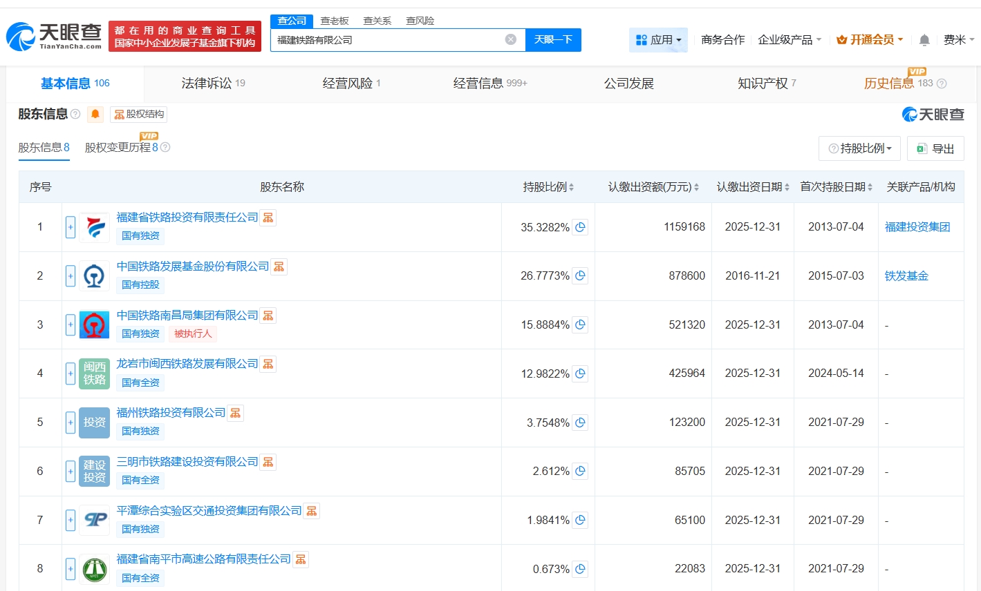
天眼查工商信息显示,近日,福建铁路有限公司发生工商变更,注册资本由约328.1亿人民币增至约377.1亿人民币,增幅约15%。
天眼查工商信息显示,近日,福建铁路有限公司发生工商变更,注册资本由约328.1亿人民币增至约377.1亿人民币,增幅约15%。
福建铁路有限公司成立于2013年7月,法定代表人为卢贤存,经营范围包括公共铁路运输、铁路运输基础设备制造、各类工程建设活动、房地产开发经营等。股东信息显示,该公司由福建省铁路投资有限责任公司、中国铁路发展基金股份有限公司、中国铁路南昌局集团有限公司等共同持股。



福建铁路公司
1.TMT观察网遵循行业规范,任何转载的稿件都会明确标注作者和来源;
2.TMT观察网的原创文章,请转载时务必注明文章作者和"来源:TMT观察网",不尊重原创的行为TMT观察网或将追究责任;
3.作者投稿可能会经TMT观察网编辑修改或补充。
