联通在线申请注册呦爱机器人商标 联通子公司申请机器人商标观点
观察君
2026-04-24 21:49
导读
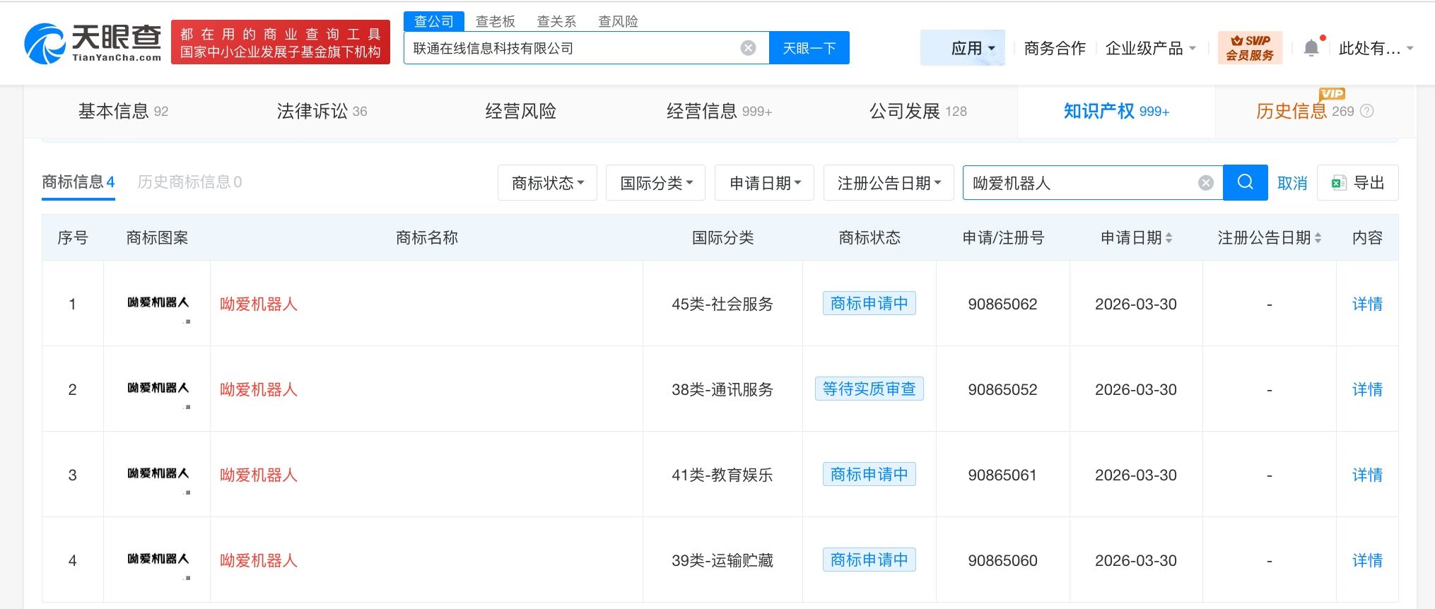
天眼查App显示,近日,联通在线信息科技有限公司申请注册多枚“呦爱机器人”商标,国际分类包括通讯服务、运输贮藏、社会服务等,当前商标状态均为等待实质审查。
天眼查App显示,近日,联通在线信息科技有限公司申请注册多枚“呦爱机器人”商标,国际分类包括通讯服务、运输贮藏、社会服务等,当前商标状态均为等待实质审查。
联通在线信息科技有限公司成立于2006年3月,法定代表人为刘志坚,注册资本4亿人民币,经营范围含数据处理服务、数据处理和存储支持服务、大数据服务、互联网数据服务、软件开发、人工智能基础软件开发等,由中国联合网络通信有限公司全资持股。



联通
1.TMT观察网遵循行业规范,任何转载的稿件都会明确标注作者和来源;
2.TMT观察网的原创文章,请转载时务必注明文章作者和"来源:TMT观察网",不尊重原创的行为TMT观察网或将追究责任;
3.作者投稿可能会经TMT观察网编辑修改或补充。
