字节跳动注册pixsoul商标,或为新款社交App快报
TechWeb.com.cn
2021-09-01 17:02
导读
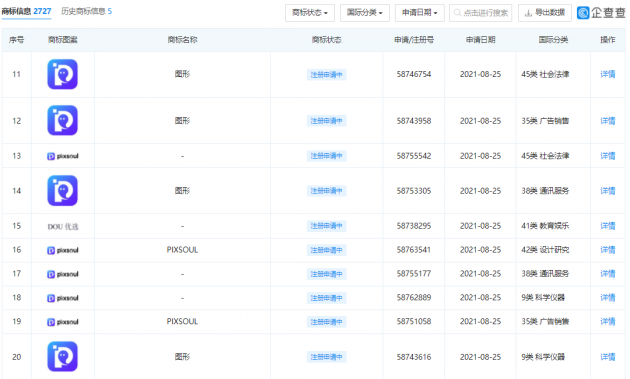
北京字跳网络技术有限公司申请注册多个pixsoul商标以及pixsoul图形商标,目前商标状态均为申请注册中,商标国际分类涉广告销售、设计研究、教育娱乐等。
【TechWeb】企查查APP显示,近日,北京字跳网络技术有限公司申请注册多个pixsoul商标以及pixsoul图形商标,商标国际分类涉广告销售、设计研究、教育娱乐等,目前商标状态均为申请注册中。
此前,据媒体报道,字节内部或在开发一款元宇宙社交产品“Pixsoul”。



商标
注册
申请
开发
近日
1.TMT观察网遵循行业规范,任何转载的稿件都会明确标注作者和来源;
2.TMT观察网的原创文章,请转载时务必注明文章作者和"来源:TMT观察网",不尊重原创的行为TMT观察网或将追究责任;
3.作者投稿可能会经TMT观察网编辑修改或补充。
