为何那么多人投诉蒙牛虚假宣传和保质期变质?丨天天315观点
从“一米八八”暗示增高,到保质期内牛奶发酸结块......蒙牛乳业的投诉量,居高不下。
文丨吕行
编辑丨百进
来源丨新商悟
从“一米八八”暗示增高,到保质期内牛奶发酸结块......蒙牛乳业的投诉量,居高不下。

截至2026年3月24日,黑猫投诉平台上关于蒙牛的投诉已高达7400多条,投诉内容涉及虚假宣传、保质期变质、有异物等诸多方面。

结合正经社此前分别截至2023年2月、2024年10月29日的相关梳理,这一数据分别为1400多条、3600多条,大有一年翻一番之势。
售后服务方面,多个消费者称,发现问题后联系蒙牛客服,得到的回应往往是“会有专人跟进”,但此后便石沉大海。
新商悟注意到,2026年2月22日,一名消费者投诉称,2026年1月6日在海南大润发购买的蒙牛纯牛奶,生产日期为2025年11月26日,保质期6个月,却在1月15日发现“食品变质,入口发酸,牛奶明显豆腐渣状,浓稠,结块”;厂家至今未主动处理。

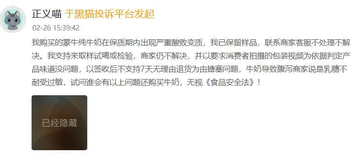
2月26日,另一名消费者投诉,购买的蒙牛纯牛奶在保质期内出现“严重酸败变质”,联系客服后不处理不解决。商家以“签收后不支持7天无理由退货”回应,消费者质问:“牛奶导致腹泻,商家说是乳糖不耐受过敏,试问谁会有以上问题还购买牛奶?”

近期,蒙牛“一米八八”奶粉更是成为一大争议典型。如下场景,相信很多人都不会陌生。
“年龄越小,干预越早,效率越高!”在蒙牛婴童生活旗舰店的直播间里,女主播举着广告牌卖力吆喝。
从奶粉名字到口播内容,都在暗示一个诱人的承诺:喝了这款奶粉,孩子能长到一米八八。

消费者王颖被直播间话术深深吸引。她的儿子读小学五年级,个头才一米三出头。主播说:“如果父母两个人‘成长’都很落后,你不给孩子想办法干预,孩子将来肯定也落后。”
王颖花398元买下2袋装套餐,随后被拉入活动群,群里推销的套餐动辄三五千、上万元。
然而,这款被吹捧为“功能性”、“成长配方”的奶粉,执行的是GB19644《食品安全国家标准——乳粉和调制乳粉》,属于普通食品,并无明确的增高效果。
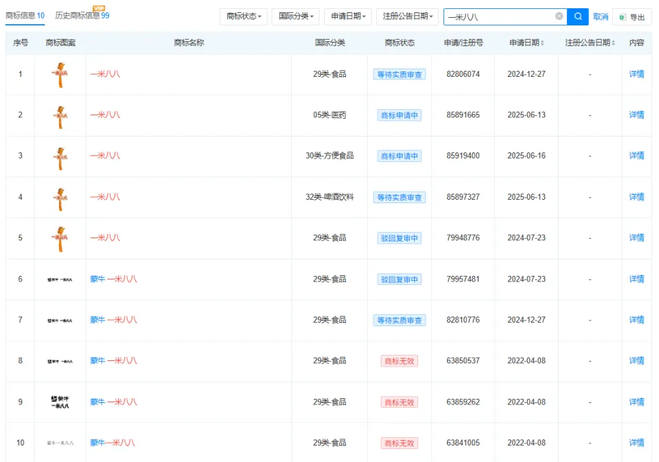
值得注意的是,其曾多次申请“一米八八”商标,均被驳回。驳回理由直指要害:直接表示了商品的功能、用途,违反《商标法》规定。

因此,蒙牛一米八八奶粉直播从未出现在蒙牛官方旗舰店,而是出现在“蒙牛儿童奶粉旗舰店”“蒙牛婴童生活旗舰店”等账号。这两个账号的备案主体并非蒙牛公司,而是武汉一米八八食品有限公司和一米八八奶粉(湖北)电子商务有限公司。
相关招商工作人员告诉媒体记者,蒙牛一米八八是武汉一家公司操盘销售的产品。蒙牛负责提供技术研发,包括供应链,武汉公司获得品牌授权,拿到了全国总代理。前述备案主体其实都是同一个操盘团队,“实际老板是一个人”“我们是全国垄断的”。
2026年3月17日,一名消费者在黑猫投诉平台投诉称,购买蒙牛一米八八奶粉花费3730元,认为商家“虚假宣传增高、欺诈消费者”,要求三倍赔偿。

新商悟分析师注意到,类似的投诉还有多条,涉及金额从数百元到数千元不等。
回溯既往,早在2024年,蒙牛乳业新任总经理高飞就曾在关于乳品质量与安全的演讲中公开承诺:“确保每一滴牛奶都经得起时间的考验和消费者的检验。”
然而,至今两年过去了,我们却不得不提出那个一年多以前就曾提出过的问题:投诉量为何不减反增?这家年营收近千亿元的乳业巨头,为何仍然频频在质量和诚信上引发争议?欢迎评论区留言,说出你的看法。【《新商悟》出品】
1.TMT观察网遵循行业规范,任何转载的稿件都会明确标注作者和来源;
2.TMT观察网的原创文章,请转载时务必注明文章作者和"来源:TMT观察网",不尊重原创的行为TMT观察网或将追究责任;
3.作者投稿可能会经TMT观察网编辑修改或补充。
