宁德时代北汽小米汽车合资公司更名 北京时代动力电池公司更名时代北汽观点
观察君
2025-01-02 15:39
导读
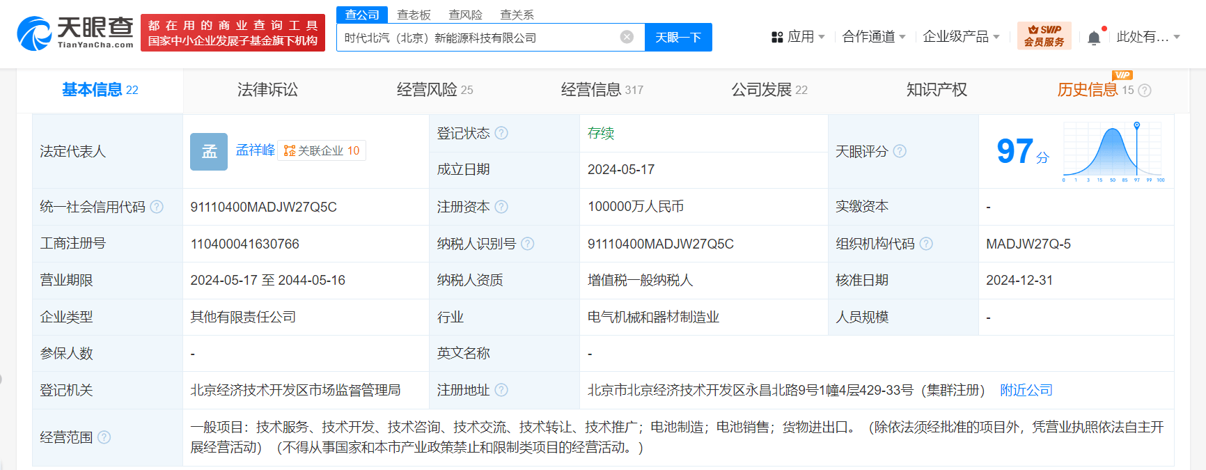
天眼查App显示,近日,北京时代动力电池有限公司发生工商变更,企业名称变更为时代北汽(北京)新能源科技有限公司,经营范围新增技术服务、技术开发、技术咨询、技术交流、技术转让、技术推广,电池销售,货物进出口,同时,部分主要人员也发生变更。
天眼查App显示,近日,北京时代动力电池有限公司发生工商变更,企业名称变更为时代北汽(北京)新能源科技有限公司,经营范围新增技术服务、技术开发、技术咨询、技术交流、技术转让、技术推广,电池销售,货物进出口,同时,部分主要人员也发生变更。
该公司成立于2024年5月,法定代表人为孟祥峰,注册资本10亿人民币,由宁德时代(300750)、北汽海蓝芯能源科技(北京)有限公司、小米汽车科技有限公司、北京京能科技有限公司共同持股。



宁德时代
1.TMT观察网遵循行业规范,任何转载的稿件都会明确标注作者和来源;
2.TMT观察网的原创文章,请转载时务必注明文章作者和"来源:TMT观察网",不尊重原创的行为TMT观察网或将追究责任;
3.作者投稿可能会经TMT观察网编辑修改或补充。
