胖都来股东申请盈都来肥都来商标 胖都来股东已申请新名称商标观点
观察君
2025-05-21 00:04
导读
据报道,5月20日,多位网友发布视频称,发现胖都来商场已将名字改为“盈都来”。此前,浙江一家名为“胖都来”的线下购物商场开业,因商场名与河南“胖东来”相似,引发热议。
据报道,5月20日,多位网友发布视频称,发现胖都来商场已将名字改为“盈都来”。此前,浙江一家名为“胖都来”的线下购物商场开业,因商场名与河南“胖东来”相似,引发热议。
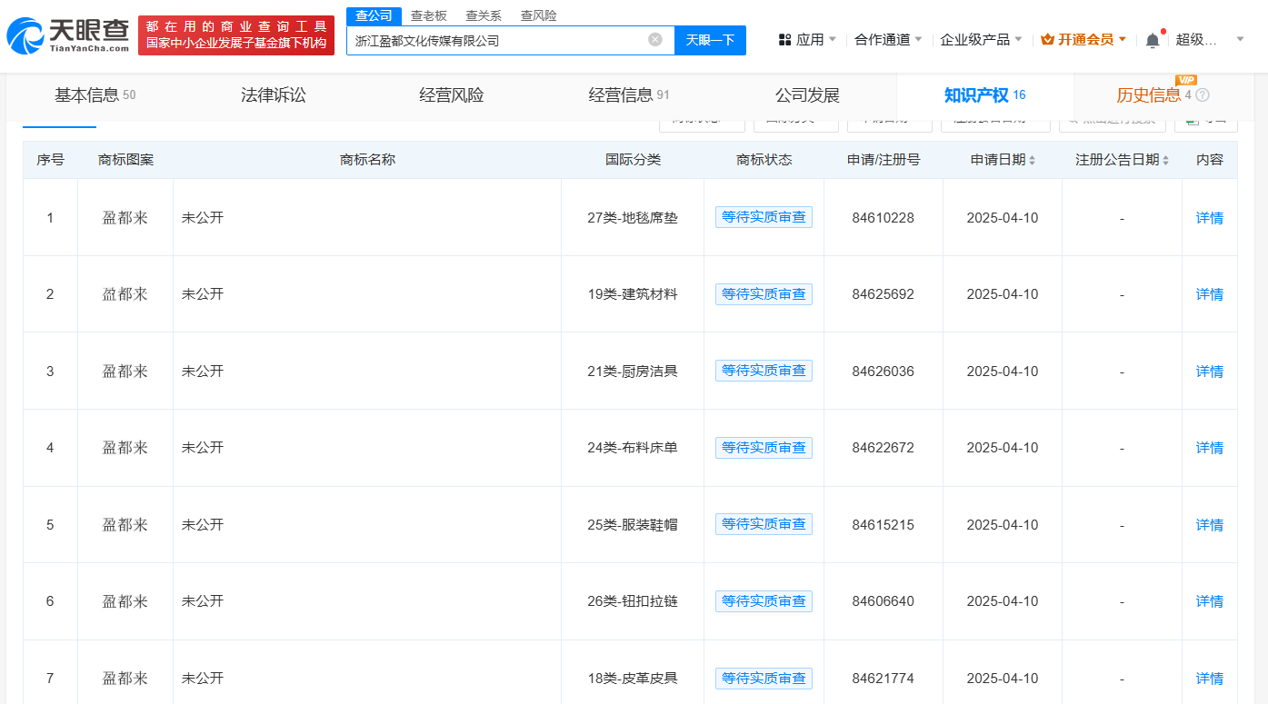
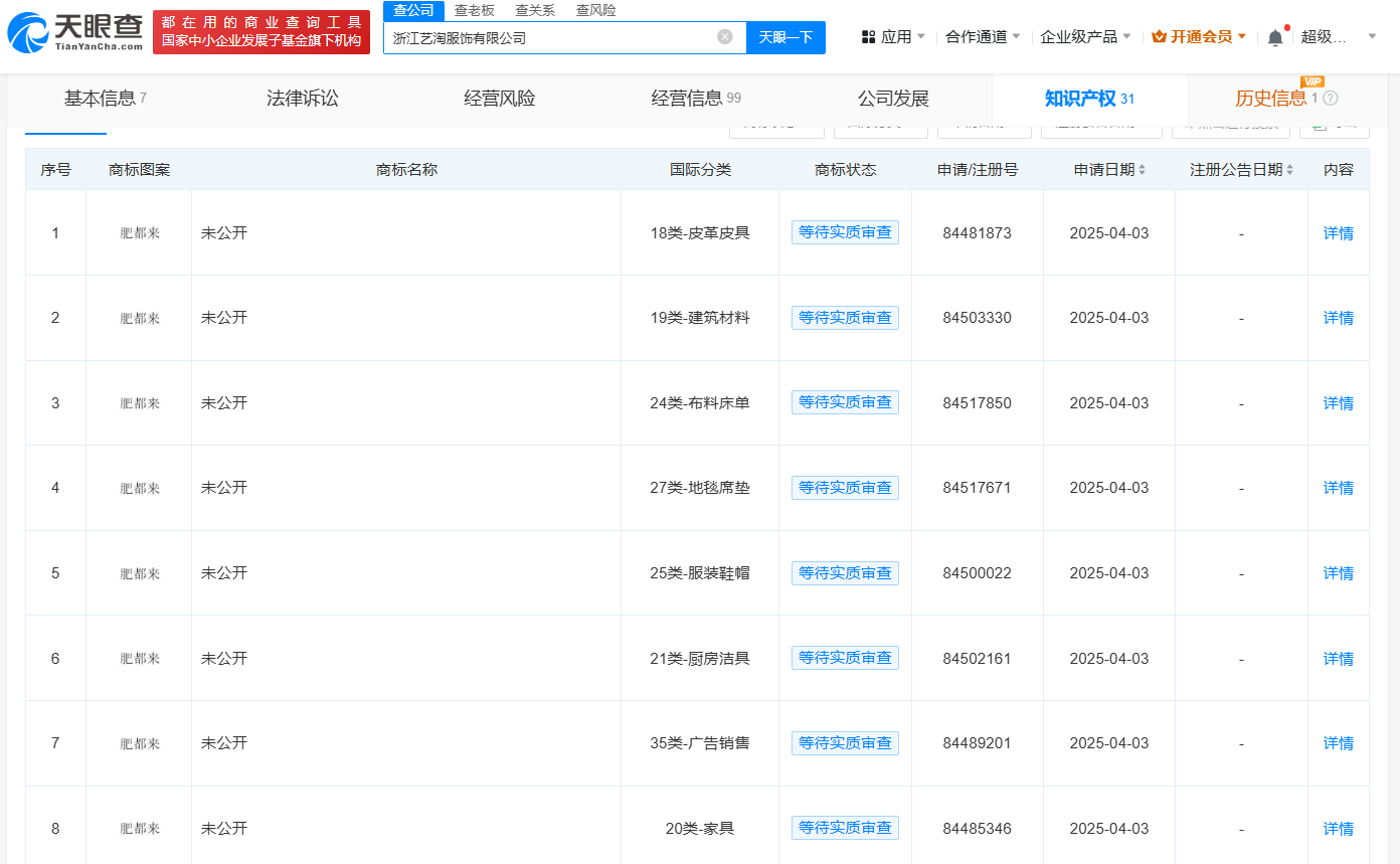
天眼查App显示,浙江胖都来商业管理有限公司成立于今年2月,法定代表人为都建明,注册资本1000万人民币,经营范围包括商业综合体管理服务、日用百货销售、珠宝首饰零售等,由浙江艺淘服饰有限公司、浙江盈都文化传媒有限公司共同持股。值得注意的是,近日,浙江艺淘服饰有限公司申请注册了多枚“肥都来”商标,国际分类涉及广告销售、服装鞋帽等;浙江盈都文化传媒有限公司申请注册了多枚“盈都来”商标,国际分类涉及皮革皮具、建筑材料等,上述商标状态均为等待实质审查。




胖都来
1.TMT观察网遵循行业规范,任何转载的稿件都会明确标注作者和来源;
2.TMT观察网的原创文章,请转载时务必注明文章作者和"来源:TMT观察网",不尊重原创的行为TMT观察网或将追究责任;
3.作者投稿可能会经TMT观察网编辑修改或补充。
