上汽通用五菱申请注册昊菱智运商标观点
观察君
2025-03-04 11:33
导读
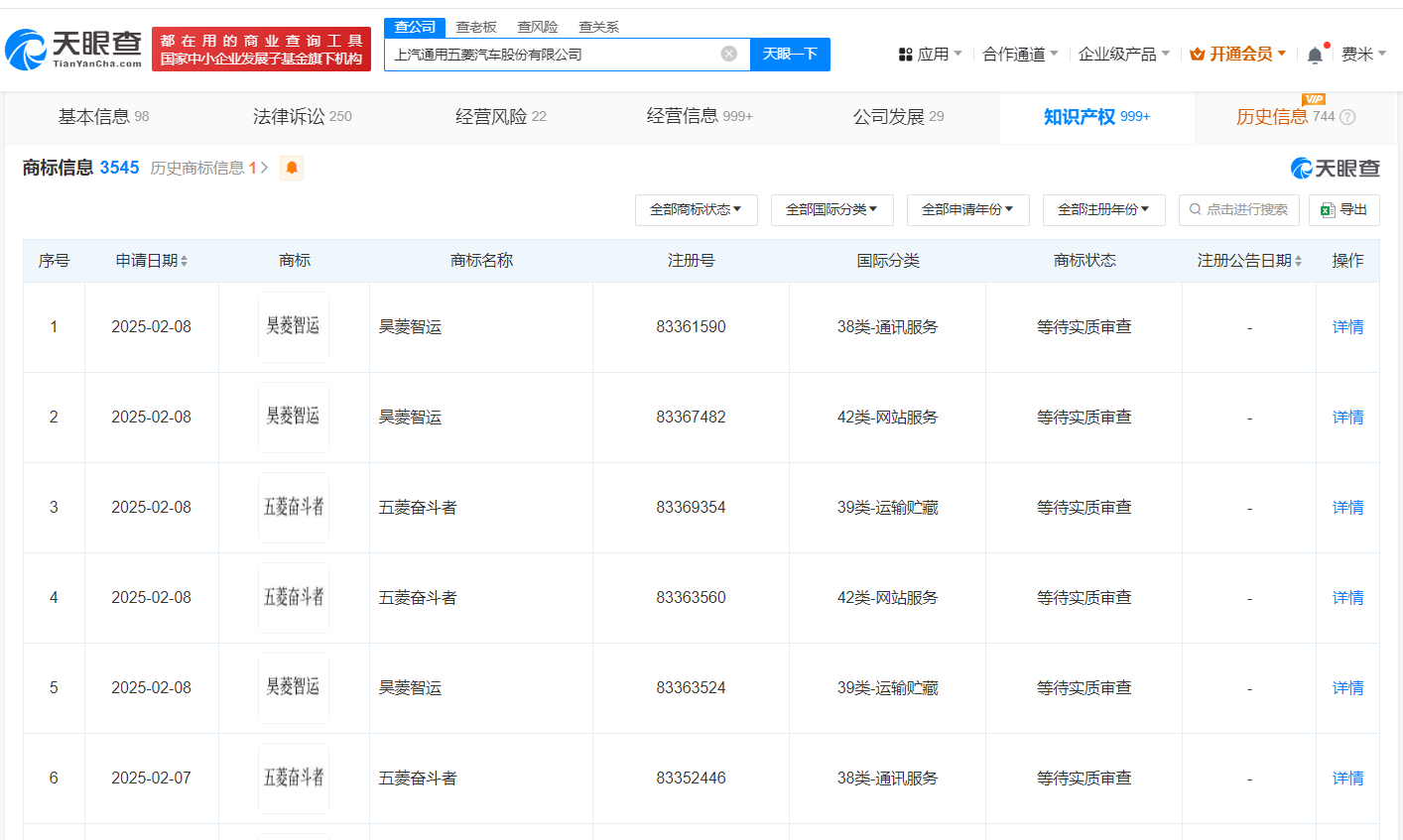
天眼查知识产权信息显示,近日,上汽通用五菱汽车股份有限公司申请注册多枚“昊菱智运”商标,国际分类包含通讯服务、网站服务、运输贮藏等,当前商标状态为等待实质审查。
天眼查知识产权信息显示,近日,上汽通用五菱汽车股份有限公司申请注册多枚“昊菱智运”商标,国际分类包含通讯服务、网站服务、运输贮藏等,当前商标状态为等待实质审查。
该公司成立于1998年6月,法定代表人为王晓秋,注册资本约16.7亿人民币,经营范围含研究、开发、生产汽车,生产、加工各类汽车零部件、配件,自有房屋租赁、设备租赁等,由上海汽车集团股份有限公司、通用汽车中国有限责任公司、柳州微型汽车厂等共同持股。



上汽通用五菱
1.TMT观察网遵循行业规范,任何转载的稿件都会明确标注作者和来源;
2.TMT观察网的原创文章,请转载时务必注明文章作者和"来源:TMT观察网",不尊重原创的行为TMT观察网或将追究责任;
3.作者投稿可能会经TMT观察网编辑修改或补充。
