安踏已申请注册多枚樊振东相关商标 安踏樊振东联名商标FZD通过初审观点
观察君
2025-04-24 19:08
导读
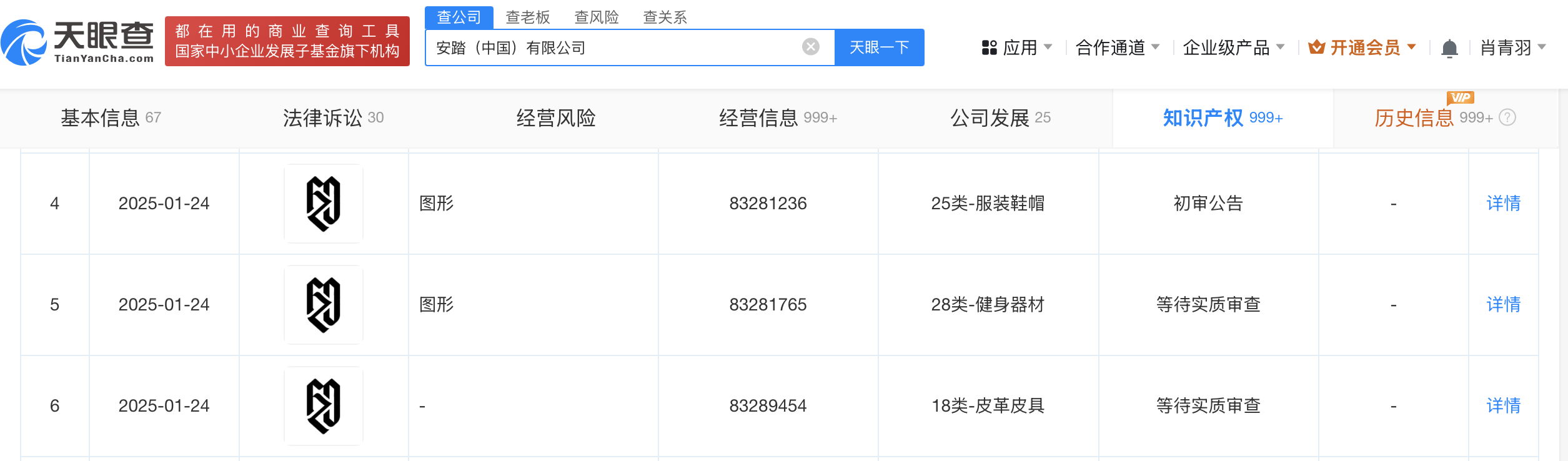
今年1月,安踏(中国)有限公司申请注册多枚“FZD”图形商标,国际分类涉及服装鞋帽、健身器材、皮革皮具,其中一枚图形商标“FZD”进入初审,其余商标状态为等待实质审查。
天眼查知识产权信息显示,今年1月,安踏(中国)有限公司申请注册多枚“FZD”图形商标,国际分类涉及服装鞋帽、健身器材、皮革皮具,其中一枚图形商标“FZD”进入初审,其余商标状态为等待实质审查。

安踏
1.TMT观察网遵循行业规范,任何转载的稿件都会明确标注作者和来源;
2.TMT观察网的原创文章,请转载时务必注明文章作者和"来源:TMT观察网",不尊重原创的行为TMT观察网或将追究责任;
3.作者投稿可能会经TMT观察网编辑修改或补充。
