小米申请少米商标 小米已申请小未少米大米等商标观点
观察君
2025-01-23 12:08
导读
近日,小米科技有限责任公司申请注册一枚“少米”商标,国际分类为科学仪器,当前商标状态为等待实质审查。
天眼查知识产权信息显示,近日,小米科技有限责任公司申请注册一枚“少米”商标,国际分类为科学仪器,当前商标状态为等待实质审查。
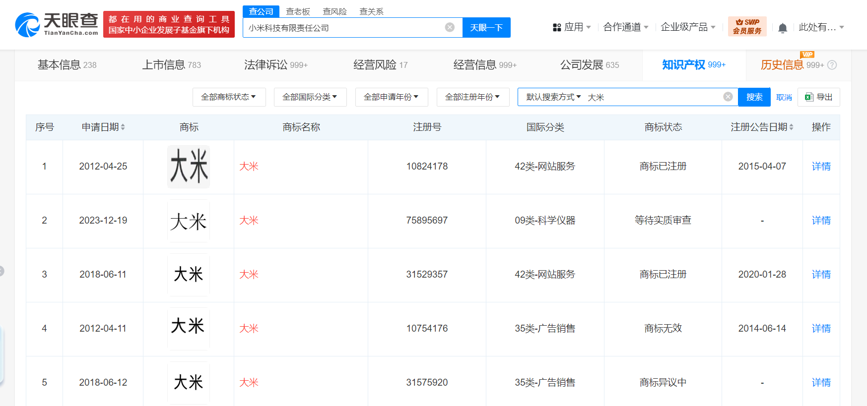
小米科技有限责任公司成立于2010年3月,法定代表人为雷军,注册资本18.5亿人民币,由雷军、黎万强、洪锋、刘德共同持股。值得注意的是,该公司此前已申请“紫米”“橙米”“大米”“小未”等商标。



小米
少米商标
1.TMT观察网遵循行业规范,任何转载的稿件都会明确标注作者和来源;
2.TMT观察网的原创文章,请转载时务必注明文章作者和"来源:TMT观察网",不尊重原创的行为TMT观察网或将追究责任;
3.作者投稿可能会经TMT观察网编辑修改或补充。
