摩托罗拉折叠屏手机外形曝光:浓浓RAZR风快报
TechWeb.com.cn
2019-03-09 12:32
导读
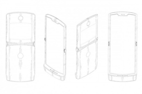
这款折叠屏手机采用的是上下对折的方案,中兴折叠屏手机专利 据悉,开发文档中发现了联想MOTO一款折叠屏手机的踪影。
【TechWeb】如今,各大厂商都在折叠屏和5G的道路上各自发力,尤其上个月的MWC2019上不少折叠屏真机的亮相,吸引力越来越多的目光。而此前,联想曾经也表示,他们也在准备折叠屏手机。现在有最新消息,开发文档中发现了联想MOTO一款折叠屏手机的踪影。

据XDA的大神发现的信息来看,这款折叠屏手机归属摩托罗拉系列。值得注意的是,这款折叠屏手机采用的是上下对折的方案,与目前左右折叠的方案大不相同。巧的是,就在几天前,中兴一项折叠屏专利也得到曝光,同样采用的是上下折叠的方案,与联想的方案相近。
此外,根据媒体曝光的消息,此次联想推出的可折叠手机设计确实是以翻盖手机为灵感,具有很明显的RAZR风格,可以将内部一个大的显示屏在设备关闭时折叠起来,既可以缩小体积节省空间,也可以将显示屏放在内侧,从而使屏幕更大程度上免于被划伤的风险。

中兴折叠屏手机专利
据悉,摩托罗拉这款折叠屏手机将在今年3/4月份亮相,并将由美国Verizon独家推出,售价超过1500美元,折合人民币10200元。更多详细信息,我们拭目以待。
折叠
手机
联想
显示屏
推出
1.TMT观察网遵循行业规范,任何转载的稿件都会明确标注作者和来源;
2.TMT观察网的原创文章,请转载时务必注明文章作者和"来源:TMT观察网",不尊重原创的行为TMT观察网或将追究责任;
3.作者投稿可能会经TMT观察网编辑修改或补充。
