华为申请姚安娜英文名商标获批 目前姚安娜相关商标均注册成功快讯
TechWeb.com.cn
2021-12-02 17:07
导读
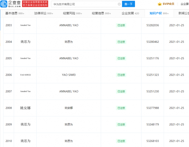
华为目前也已经完成了姚安娜商标的注册,华为技术有限公司成功注册姚思为、YAO SIWEI、ANNABEL YAO商标,企查查显示。
【TechWeb】12月2日,企查查App显示,近期,华为技术有限公司成功注册姚思为、YAO SIWEI、ANNABEL YAO商标,商标国际服装鞋帽、方便食品等。
企查查显示,华为目前也已经完成了姚安娜商标的注册。据悉,姚安娜原名为姚思为,为华为创始人任正非的小女儿。


华为
姚思为
商标
注册
显示
1.TMT观察网遵循行业规范,任何转载的稿件都会明确标注作者和来源;
2.TMT观察网的原创文章,请转载时务必注明文章作者和"来源:TMT观察网",不尊重原创的行为TMT观察网或将追究责任;
3.作者投稿可能会经TMT观察网编辑修改或补充。
