康美药业原董事长一审获刑12年,企查查显示其被执行金额超20亿快讯
TechWeb.com.cn
2021-11-17 17:15
导读
目前马兴田共有4项被执行人信息,因参与相关证券犯罪被分别判处有期徒刑并处罚金,广东省佛山市中级人民法院17日对康美药业原董事长、总经理马兴田等12人操纵证券市场案公开宣判。
【TechWeb】据报道,广东省佛山市中级人民法院17日对康美药业原董事长、总经理马兴田等12人操纵证券市场案公开宣判。马兴田因操纵证券市场罪、违规披露、不披露重要信息罪以及单位行贿罪数罪并罚,被判处有期徒刑12年,并处罚金人民币120万元;康美药业原副董事长、常务副总经理许冬谨及其他责任人员11人,因参与相关证券犯罪被分别判处有期徒刑并处罚金。
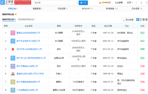
企查查APP显示,目前马兴田名下企业共有8家,其中注销2家、吊销2家、在业存续4家,其仍于康美实业投资控股有限公司、普宁市金信典当行有限公司任执行董事职务。企查查风险信息显示,目前马兴田共有4项被执行人信息,当前被执行总金额为26.66亿元,最新被执行人信息时间为11月16日,案号为(2021)粤52执760号,执行标的为7044.02万元。


马兴田
信息
康美
执行
证券
1.TMT观察网遵循行业规范,任何转载的稿件都会明确标注作者和来源;
2.TMT观察网的原创文章,请转载时务必注明文章作者和"来源:TMT观察网",不尊重原创的行为TMT观察网或将追究责任;
3.作者投稿可能会经TMT观察网编辑修改或补充。
