结合中国古典文化取名 华为意在把传说化为现实奇迹快报
TechWeb.com.cn
2019-05-25 12:12
导读
华为鸿蒙,华为的手机芯片取名为,服务器芯片取名。
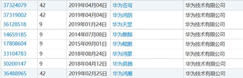
【TechWeb】5月25日,华为的手机芯片取名为“麒麟”;基带芯片取名“巴龙”;服务器芯片取名“鲲鹏”;服务器平台,取名“泰山”;路由器芯片取名“凌霄”;人工智能芯片取名“昇腾”;5G服务器芯片取名“天罡”。除此之外,华为还有大量的富有中国古典文化内涵的词语的商标注册。而现在,华为又将自主研发的新系统取名为“鸿蒙”。

近日根据国家知识产权局商标局的公开资料显示,华为已经申请注册“华为鸿蒙”商标,申请日期为2018年8月24日,注册公告日期为2019年5月14日,专用权期限是从2019年5月14日至2029年5月13日。华为消费者业务部CEO余承东此前确认:华为正在研发自有操作系统,并最早将于今秋面市。从商标局资料上的名称来看华为的新操作系统就叫“鸿蒙”。

百度百科中,关于鸿蒙一词的解释为:鸿蒙,中国神话传说的远古时代,传说盘古在昆仑山开天辟地之前,世界是一团混沌的元气,这种自然的元气叫做鸿蒙,因此把那个时代称作鸿蒙时代,后来此一词也常被用来泛指称远古时代。该词也多次出现在四大名著《红楼梦》和《西游记》当中。
华为的取名都非常富有中国古典文化色彩。大量《山海经》中的经典名称,在弘扬中华传统文化的同时,也表达了华为意在把传说化为现实奇迹的决心。
华为
鸿蒙
取名
文化
时代
1.TMT观察网遵循行业规范,任何转载的稿件都会明确标注作者和来源;
2.TMT观察网的原创文章,请转载时务必注明文章作者和"来源:TMT观察网",不尊重原创的行为TMT观察网或将追究责任;
3.作者投稿可能会经TMT观察网编辑修改或补充。
