乐视影业被冻结2856万股权 乐视影业2856万股权被冻结观点
观察君
2026-04-15 15:27
导读
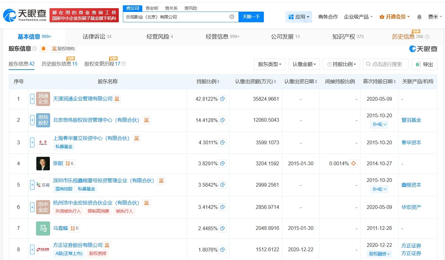
天眼查法律诉讼信息显示,近日,乐视影业(北京)有限公司新增一则股权冻结信息,被执行人为杭州浩中金宏投资合伙企业(有限合伙),冻结股权数额2856万余元,执行法院为北京市第一中级人民法院。
天眼查法律诉讼信息显示,近日,乐视影业(北京)有限公司新增一则股权冻结信息,被执行人为杭州浩中金宏投资合伙企业(有限合伙),冻结股权数额2856万余元,执行法院为北京市第一中级人民法院。
该公司成立于2011年12月,法定代表人为付大明,注册资本约8.4亿人民币,经营范围包括电影片发行、投资管理、资产管理等,由天津润通企业管理有限公司、北京思伟股权投资管理中心(有限合伙)、杭州浩中金宏投资合伙企业(有限合伙)等共同持股,其中杭州浩中金宏投资合伙企业(有限合伙)的持股比例约为3.4%。



乐视影业
1.TMT观察网遵循行业规范,任何转载的稿件都会明确标注作者和来源;
2.TMT观察网的原创文章,请转载时务必注明文章作者和"来源:TMT观察网",不尊重原创的行为TMT观察网或将追究责任;
3.作者投稿可能会经TMT观察网编辑修改或补充。
